泡泡玛特已注册80余枚labubu相关商标 LABUBU与朋友们动画剧集著作权已登记观点
观察君
2025-06-10 10:33
导读
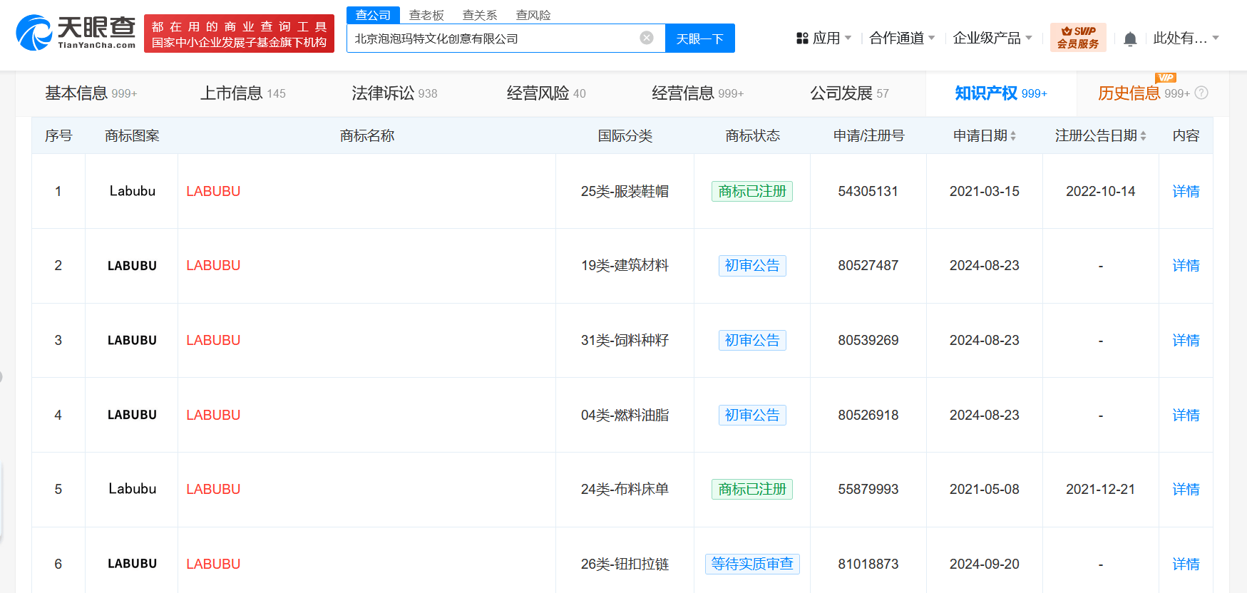
天眼查知识产权信息显示,北京泡泡玛特文化创意有限公司已申请注册80余枚“labubu”“拉布布”相关商标,国际分类为教育娱乐、办公用品、服装鞋帽等,当前部分商标已注册成功。此外,该公司于今年1月登记“《LABUBU 与朋友们》动画剧集第一季剧本V1”作品著作权,作品类别为文字。
天眼查知识产权信息显示,北京泡泡玛特文化创意有限公司已申请注册80余枚“labubu”“拉布布”相关商标,国际分类为教育娱乐、办公用品、服装鞋帽等,当前部分商标已注册成功。此外,该公司于今年1月登记“《LABUBU 与朋友们》动画剧集第一季剧本V1”作品著作权,作品类别为文字。
值得一提的是,近期,多家新成立公司以“拉布布”命名,包括杭州拉布布文化传媒有限公司、浙江拉布布纺织科技有限公司、深圳拉布布商务有限公司、东莞市拉布布玩具有限公司等。




泡泡玛特
1.TMT观察网遵循行业规范,任何转载的稿件都会明确标注作者和来源;
2.TMT观察网的原创文章,请转载时务必注明文章作者和"来源:TMT观察网",不尊重原创的行为TMT观察网或将追究责任;
3.作者投稿可能会经TMT观察网编辑修改或补充。
