格力电器仍持有多枚孟羽童相关商标 格力曾批量注册孟羽童商标观点
观察君
2026-03-21 18:40
导读
近日,孟羽童参加综艺《初入职场》再度提及在格力的工作经历,相关话题引发热议。
近日,孟羽童参加综艺《初入职场》再度提及在格力的工作经历,相关话题引发热议。
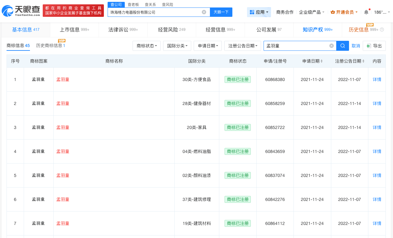
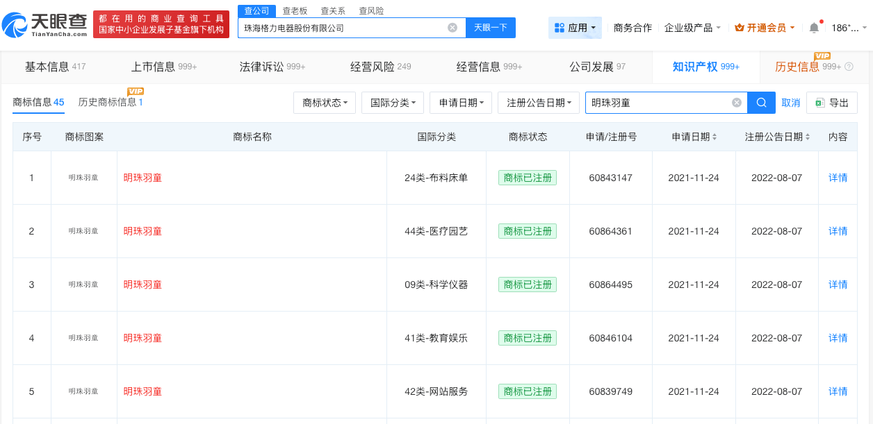
天眼查知识产权信息显示,格力电器(000651) 已成功注册多枚“孟羽童”“明珠羽童”商标,国际分类包括方便食品、健身器材、家具等。


格力电器
1.TMT观察网遵循行业规范,任何转载的稿件都会明确标注作者和来源;
2.TMT观察网的原创文章,请转载时务必注明文章作者和"来源:TMT观察网",不尊重原创的行为TMT观察网或将追究责任;
3.作者投稿可能会经TMT观察网编辑修改或补充。
