娃哈哈子公司被司法冻结52万股权快报
TechWeb.com.cn
2021-07-15 12:22
导读
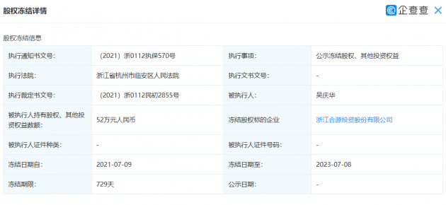
浙江合源投资股份有限公司新增一条股权冻结信息,被执行人为吴庆华,执行通知文书号(2021)浙0112执保570号。
【TechWeb】企查查App显示,近日,浙江合源投资股份有限公司新增一条股权冻结信息,被执行人为吴庆华,执行法院为浙江省杭州市临安区人民法院,股权数额52万元人民币,执行通知文书号(2021)浙0112执保570号,冻结日期至2023年7月8日。
企查查显示,该公司法定代表人、疑似实际控制人为为娃哈哈创始人宗庆后,持股82.476%。



股权
执行
显示
冻结
查查
1.TMT观察网遵循行业规范,任何转载的稿件都会明确标注作者和来源;
2.TMT观察网的原创文章,请转载时务必注明文章作者和"来源:TMT观察网",不尊重原创的行为TMT观察网或将追究责任;
3.作者投稿可能会经TMT观察网编辑修改或补充。
