抖音旗下公司申请探饭商标 字节跳动申请探饭商标观点
观察君
2024-09-19 11:22
导读
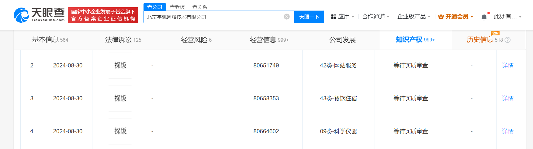
近日,北京字跳网络技术有限公司申请注册三枚“探饭”商标,国际分类为科学仪器、餐饮住宿、网站服务,当前商标状态均为等待实质审查。
天眼查知识产权信息显示,近日,北京字跳网络技术有限公司申请注册三枚“探饭”商标,国际分类为科学仪器、餐饮住宿、网站服务,当前商标状态均为等待实质审查。

抖音
探饭商标
1.TMT观察网遵循行业规范,任何转载的稿件都会明确标注作者和来源;
2.TMT观察网的原创文章,请转载时务必注明文章作者和"来源:TMT观察网",不尊重原创的行为TMT观察网或将追究责任;
3.作者投稿可能会经TMT观察网编辑修改或补充。
