大麦理财两大股东成风险源头 出借人抱怨回款太慢金融
这段时间,大麦理财有点烦。正在忙于海外上市的高管们,不仅要操心IPO的诸多事宜,还要应付部分股东带来的意外风险,更要应对出借人回款慢的抱怨。
这段时间,大麦理财有点烦。正在忙于海外上市的高管们,不仅要操心IPO的诸多事宜,还要应付部分股东带来的意外风险,更要应对出借人回款慢的抱怨。

公开资料显示,大麦理财是深圳安投惠融互联网金融服务有限公司打造的互联网金融信息服务平台,注册于深圳前海,于2014年10月12日正式上线。官网数据显示,目前,平台累计成交达48.94亿元,待收金额为3.22亿元。



引“狼”入室
两大股东成风险“干爹”
目前,大麦理财已经完成五轮融资。
2015年1月,获风投机构深圳国投资本战略注资,大麦理财完成A轮融资;2015年11月,获国资券商长城证券全资子公司长城长富注资,大麦理财完成B轮融资;2016年1月,获上市公司升达林业注资,大麦理财完成C轮融资。
2018年10月29日,大麦理财宣布确定D轮融资,投资方为黄山磐界投资中心;同时大麦理财还宣布正式启动纳斯达克上市计划。
2019年1月22日,根据平台方面消息,大麦理财E1轮(preIPO第一轮)融资已经顺利完成,该笔资金将主要用于公司IPO进程中的各项审计开支,助力平台的上市计划;同时E2轮融资计划已经启动。大麦理财上市计划正在高效有序地推进中。

不过,大麦理财融资时,引进的不一定都是龙种,也有意想不到的跳蚤。
在大麦理财的投资方中,既有国资背景也有上市公司背景。雄厚的融资背景本该成为平台的强大背书,不料却成了平台最大的风险。

首当其冲的就是大麦理财C轮融资投资方升达林业。
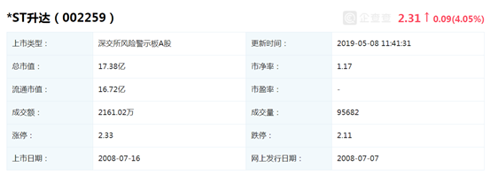
大麦理财官网资料显示,升达林业(股票代码002259)成立于1995年3月9日,注册资本为⒍4亿元,是一家从事林业产业一体化经营的上市公司。
四川升达集团名列四川省工业企业最大规模、最大市场占有份额、最大纳税500强,最佳效益200强,成都市工业企业50强之一。升达是强化木地板国家标准和强化木地板中国环境标志产品认证技术要求的主要协助起草单位。
2008年7月16日,四川升达林业产业股份有限公司于深交所正式挂牌上市。
2016年1月25日,升达林业对大麦理财完成了C轮注资。
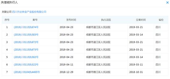
这么一家高大上的企业却屡次被列为失信被执行人。而且失信被执行人行为具体情形都是:有履行能力而拒不履行生效法律文书确定义务。

根据最近七份生效法律文书确定的义务,四川升达分别需要:支付原告旷志全货款265912元;向申请执行人支付5025元;向申请执行人支付368152元;向申请执行人支付384075元;向申请执行人支付262730.5元;向原告张国芝支付货款152504元;归还申请人贷款本金928.48929万元。

今年1月25日,四川升达林业产业股份有限公司涉嫌信息披露违法违规,中国证监会决定对公司立案调查。

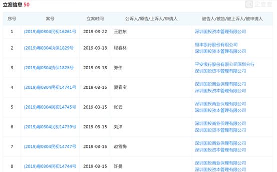
大麦理财的第二大问题股东,是其A轮融资投资方——深圳国投资本管理有限公司。
据大麦理财官网介绍,深圳国投资本管理有限公司是专门从事基金管理、风险投资、房地产金融、经济信息咨询服务等综合性投资业务的专业机构。
其下属深圳国投商业保理是国内早期进入商业保理行业的企业之一,也是国内知名的上市公司保理资产提供机构,占据了国内保理资产的半壁江山,并荣获“全国最佳风险控制奖”等奖项。
2015年8月,深圳国投资本管理有限公司对大麦理财完成了A轮注资。
但是,这位股东最近也开始麻烦缠身。



据信息披露,此前,深圳国投商业保理有限公司与深圳国投供应链管理有限公司均为大麦理财的理财关联方,分别推荐保理资产、供应链资产向大麦理财出借人借款。不过,按照金融监管部门的整改要求,自去年以来,相关保理资产、供应链资产已停发并陆续清退。
回款慢
被诟病最多
在资产选择上,大麦理财上线初期就主打供应链金融项目。大麦理财表示,供应链金融资产也是平台今年重点发展的资产项目,将重点拓展三农项目、基建行业、能源项目领域。
目前,大麦理财上线的产品主要有麦田计划、麦分期、麦荷包。其中,麦田计划主要为供应链金融,借款企业大多用于企业经营;麦分期主要为消费金融,借款人主要为借款自然人,借款用途主要用于购买车辆或其他个人消费。
麦荷包为大麦理财上线的自动投标工具。由出借者授权,“麦荷包”即启动优先匹配投标,投资的范围是平台上所有募集的项目,包括麦分期、企业借款和个人借款。


用户将资金加入麦荷包委托投标工具后,将会有一个自动匹配平台项目的过程,这个过程称为匹配期。目前,约定的匹配期为2天。持有期将由匹配期完成后开始计算。
在麦荷包持续锁定期间内,工具约定年化利率逐月递增,持续服务时间越长参考回报越高。持续服务时间对应的工具约定年化利率如下表:

自推出以来,麦荷包屡遭用户诟病,最大的问题就是回款慢。



使用麦荷包需要注意的是:虽然麦荷包出借项目大部分由第三方担保机构提供无限连带责任担保,但是大麦理财仅作为信息发布平台,不对债权转让完成的时间以及债权转让能否全部成功实现做出任何承诺,出借人债权转让申请未成功完成的将继续持有债权,直到债权到期退出为止。
更需要注意的是:一旦发起债权转让,则该笔债权转让不可撤销,直至债权完全转出为止。而且,平台给出的参考回报不代表对实际利息回报的承诺,出借人需自行承担资金出借的风险与责任。
大麦理财披露的逾期数据显示,目前,平台逾期90天(含)以下的金额为3423.7万,逾期率为1.47%,逾期91天以上的没有。

1.TMT观察网遵循行业规范,任何转载的稿件都会明确标注作者和来源;
2.TMT观察网的原创文章,请转载时务必注明文章作者和"来源:TMT观察网",不尊重原创的行为TMT观察网或将追究责任;
3.作者投稿可能会经TMT观察网编辑修改或补充。
