北汽集团所持5.1亿股权被冻结观点
观察君
2025-05-26 11:54
导读
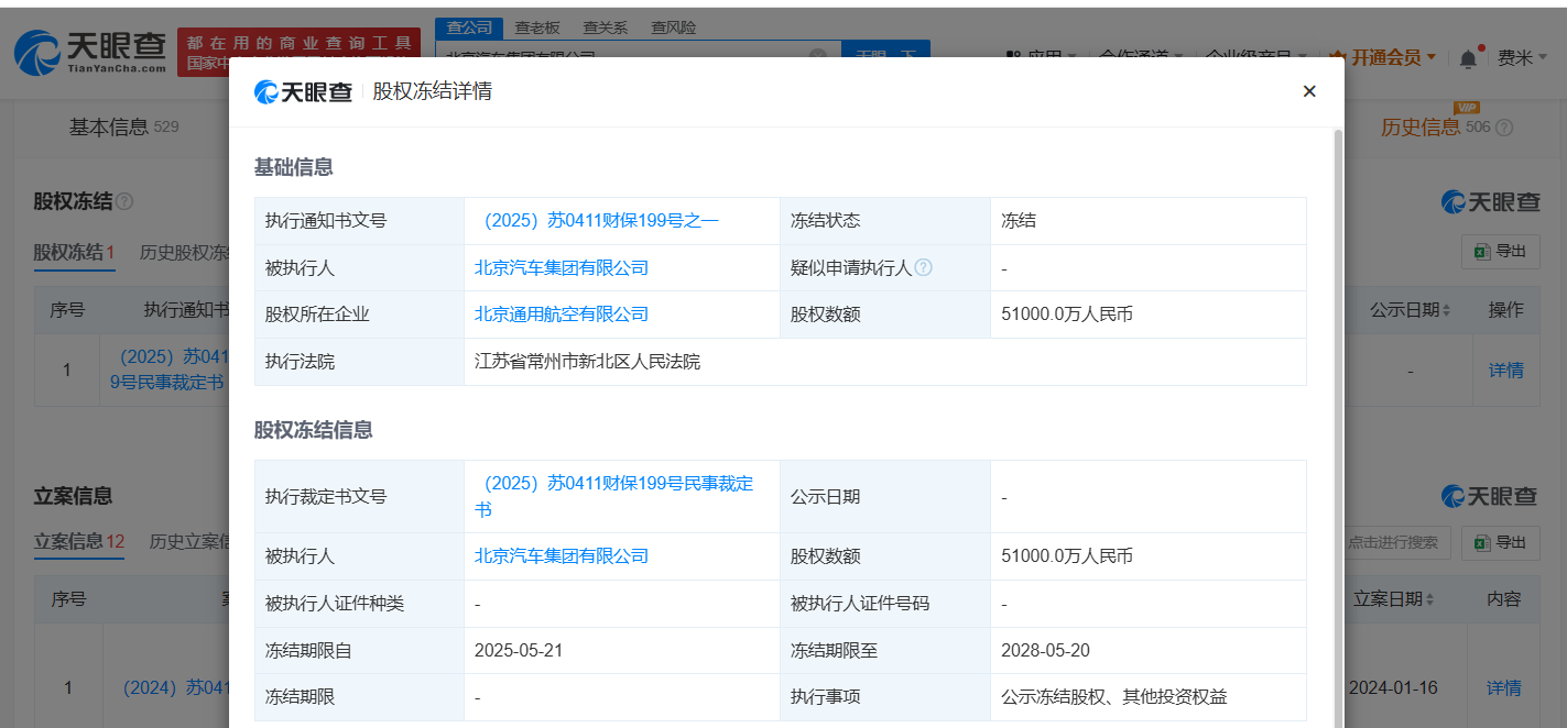
近日,北京汽车集团有限公司新增一则股权冻结信息,股权所在企业为北京通用航空有限公司,冻结股权数额5.1亿人民币,冻结期限自2025年5月21日至2028年5月20日,执行法院为江苏省常州市新北区人民法院。
天眼查深度风险信息显示,近日,北京汽车集团有限公司新增一则股权冻结信息,股权所在企业为北京通用航空有限公司,冻结股权数额5.1亿人民币,冻结期限自2025年5月21日至2028年5月20日,执行法院为江苏省常州市新北区人民法院。
北京汽车集团有限公司成立于1994年6月,法定代表人为张建勇,注册资本约199.6亿人民币,经营范围包括汽车企业管理技术培训、计算机技术培训、工程勘察设计等,由北京国有资本运营管理有限公司全资持股。



北汽集团
1.TMT观察网遵循行业规范,任何转载的稿件都会明确标注作者和来源;
2.TMT观察网的原创文章,请转载时务必注明文章作者和"来源:TMT观察网",不尊重原创的行为TMT观察网或将追究责任;
3.作者投稿可能会经TMT观察网编辑修改或补充。
