正威集团及王文银等被执行10.9亿观点
观察君
2025-05-14 16:58
导读
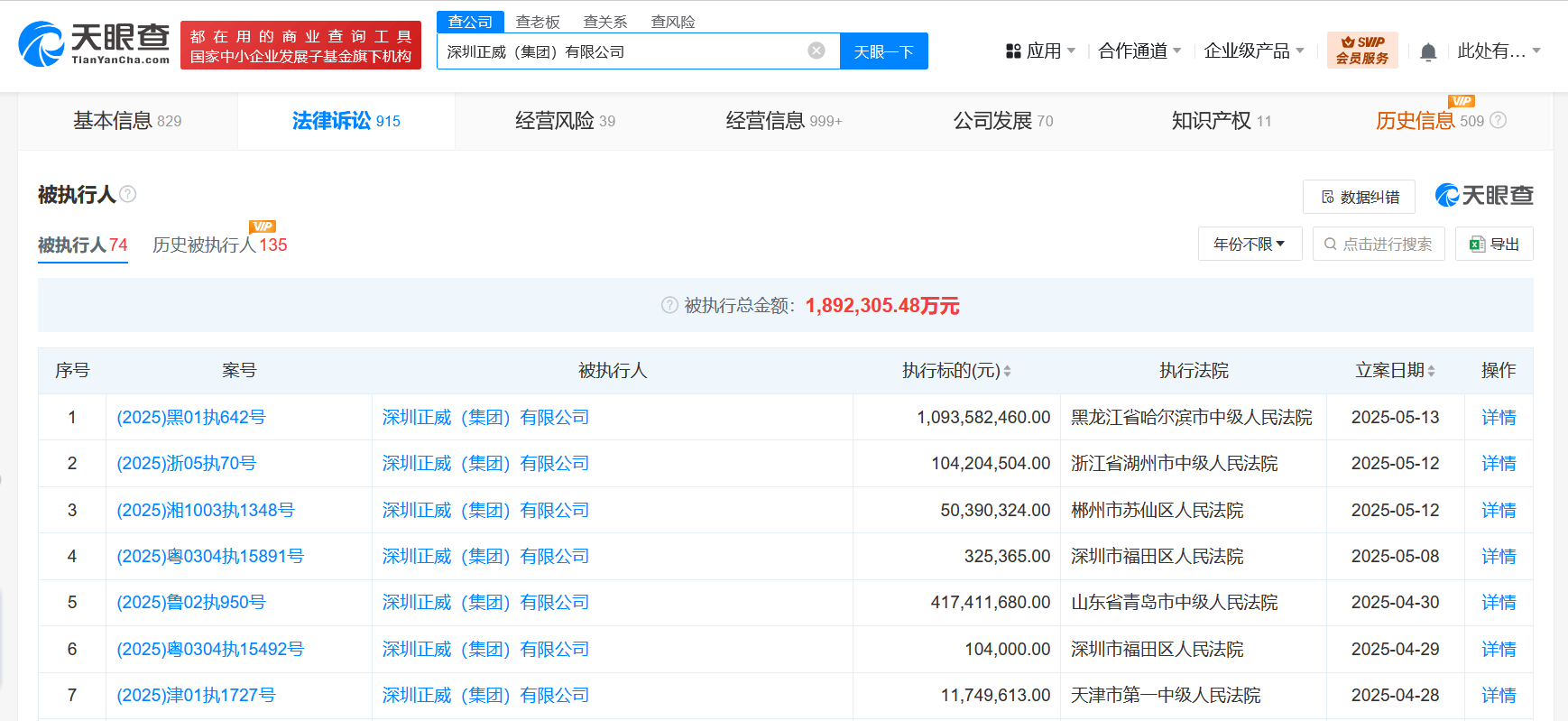
近日,深圳正威(集团)有限公司、全威(铜陵)铜业科技有限公司、王文银等新增一则被执行人信息,执行标的10.9亿余元,涉及金融借款合同纠纷案件,执行法院为黑龙江省哈尔滨市中级人民法院。
天眼查法律诉讼信息显示,近日,深圳正威(集团)有限公司、全威(铜陵)铜业科技有限公司、王文银等新增一则被执行人信息,执行标的10.9亿余元,涉及金融借款合同纠纷案件,执行法院为黑龙江省哈尔滨市中级人民法院。
天眼风险信息显示,深圳正威(集团)有限公司现存70余条被执行人信息,被执行总金额超189亿元,此外,该公司还存在多条限制消费令、失信被执行人(老赖)及终本案件信息。


正威集团
王文银
1.TMT观察网遵循行业规范,任何转载的稿件都会明确标注作者和来源;
2.TMT观察网的原创文章,请转载时务必注明文章作者和"来源:TMT观察网",不尊重原创的行为TMT观察网或将追究责任;
3.作者投稿可能会经TMT观察网编辑修改或补充。
