拼多多申请多多剧场商标 拼多多申请多多有好剧商标观点
观察君
2025-02-07 10:12
导读
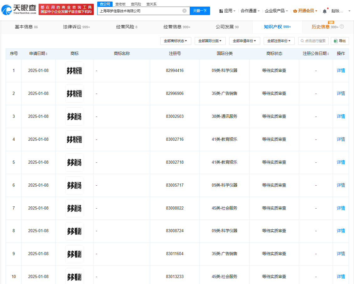
近期,拼多多关联公司上海寻梦信息技术有限公司申请注册多枚“多多剧场”“多多有好剧”“多多看剧”商标,国际分类涉及教育娱乐、广告销售、科学仪器等,当前商标状态均为等待实质审查。
天眼查App显示,近期,拼多多关联公司上海寻梦信息技术有限公司申请注册多枚“多多剧场”“多多有好剧”“多多看剧”商标,国际分类涉及教育娱乐、广告销售、科学仪器等,当前商标状态均为等待实质审查。值得注意的是,2024年9月,该公司还申请注册了多枚“多多短剧”商标。


拼多多
多多剧场商标
1.TMT观察网遵循行业规范,任何转载的稿件都会明确标注作者和来源;
2.TMT观察网的原创文章,请转载时务必注明文章作者和"来源:TMT观察网",不尊重原创的行为TMT观察网或将追究责任;
3.作者投稿可能会经TMT观察网编辑修改或补充。
