融创等被强制执行4.7亿观点
观察君
2024-11-08 16:22
导读
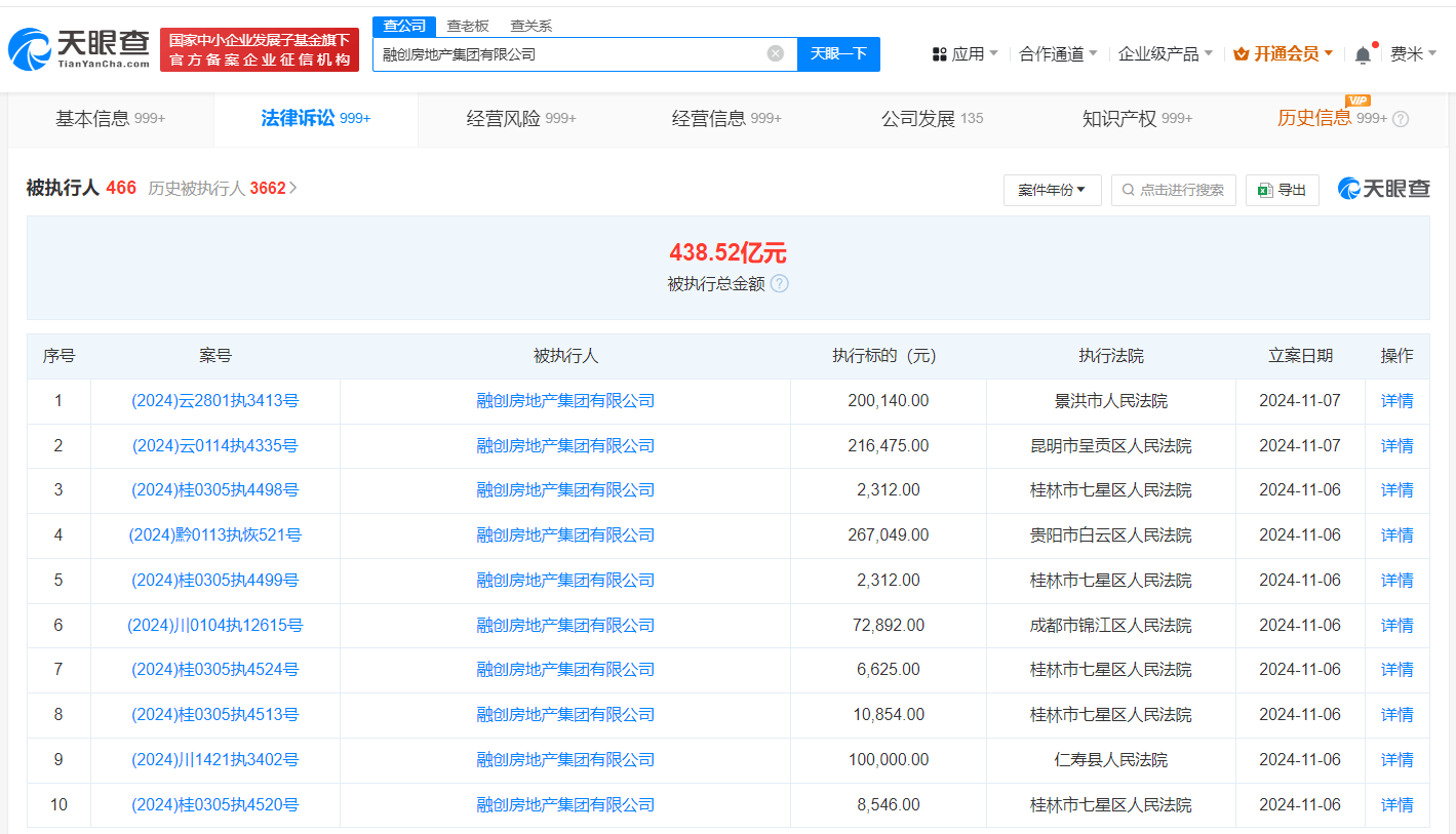
风险信息显示,融创房地产集团有限公司现存460余条被执行人信息,被执行总金额超438亿元。此外,该公司还存在多条限制消费令、失信被执行人(老赖)及终本案件信息。
天眼查法律诉讼信息显示,11月6日和7日,融创房地产集团有限公司新增10余条被执行人和恢复执行信息,执行标的合计4.7亿余元,涉及票据纠纷等案件,部分案件被执行人还包括融创鑫恒投资集团有限公司、西双版纳国际旅游度假区开发有限公司等,执行法院包括浙江省杭州市中级人民法院、景洪市人民法院、昆明市呈贡区人民法院等。
风险信息显示,融创房地产集团有限公司现存460余条被执行人信息,被执行总金额超438亿元。此外,该公司还存在多条限制消费令、失信被执行人(老赖)及终本案件信息。



融创
4.7亿
1.TMT观察网遵循行业规范,任何转载的稿件都会明确标注作者和来源;
2.TMT观察网的原创文章,请转载时务必注明文章作者和"来源:TMT观察网",不尊重原创的行为TMT观察网或将追究责任;
3.作者投稿可能会经TMT观察网编辑修改或补充。
