借一万担保费1700元!千万级APP易花花频遭投诉,拓川融担注册资本2000万杠杆750倍观点
一款名为易花花(原名易速借贷)的贷款产品,最近因收取担保费问题而频频被消费者投诉。据有多位借款用户表示,自己在易花花上借钱,在不知情的情况下被收取了担保费,每月少则几十多则上百,借款一万担保费1700元,借款越多担保费用越多。

消费日报讯(记者 卢岳 )“借一万,隐性担保费1690元。”助贷新规实施进入倒计时,平台纷纷压降贷款利率,然而,一些助贷平台仍以权益费、担保费的形式变相抬息、大肆收割用户韭菜。
一款名为易花花(原名易速借贷)的贷款产品,最近因收取担保费问题而频频被消费者投诉。据有多位借款用户表示,自己在易花花上借钱,在不知情的情况下被收取了担保费,每月少则几十多则上百,借款一万担保费1700元,借款越多担保费用越多。
易花花的下载量仅在华为应用商城就达到1070万,全网下载达到几千万量级。如此一个影响力巨大的借款平台,不仅投诉高发,且实际运营方福建拓川担保注册资金仅2000万元,涉嫌违规放贷。

1
大肆收取担保费
今年4月3日,国家金融监管总局发布《关于加强商业银行互联网助贷业务管理提升金融服务质效的通知》(下称“助贷新规”)规定,商业银行应当在合作协议中明确平台服务、增信服务的费用标准或区间,将增信服务费计入借款人综合融资成本,明确综合融资成本区间。这也意味着,助贷行业提供服务的年化利率被压降至24%以下已是大势所趋。
新规将于10月1日起施行,留给产业链“玩家们”的时间不到3个月,目前多家助贷机构已紧锣密鼓地启动年化利率从36%降至24%的合规转型工作,然而有些助贷平台仍以担保费等多名目收费。



作为一家千万级下载量的平台,易易花的担保费问题广受诟病。
一名借款用户称,在易花花借款的时候,合同上面并没有担保费用,还款的时候发现每一期有一个181.7元的担保费,10000元的借款除了利息,担保费就要1690元。
另有借款用户称,平台放款的时候并没有履行告知有担保费的义务,担保费是在合同签完之后必须要在委托合同里面才能看到这项,而界面所展示的时候只显示了本金+利息,每月还多少,不展示担保费三个字,“合同利率18%,但最后还款利率达到36%”。
除了担保费问题,易花花还额外收取会员费。有用户在不知情的情况下开通了299元的会员。“用享受所谓影视美食等消费为幌子收会员费,另外,还每月加收高额担保费和咨询服务费,借款7000元一年实际还款高达8736.97元,除本金外另外收取各种费用,年化利率达到36%。”
官网介绍,易花花是浙江未讯科技有限公司旗下信贷服务品牌,是一款专注于为用户提供便捷金融服务的应用,与多家正规金融机构合作,为用户担保灵活透明的金融服务解决方案。
2025年6月,浙江未讯科技曾高调宣布“易借速贷”升级为“易花花”,宣称要让服务“如花般绽放”。
然而,从各大投诉平台反馈来看,易花花的投诉不降反增。仅黑猫投诉数据显示:更名后一个月内易花花新增投诉几十条。截止目前,黑猫投诉上关于易花花的投诉达到200多条,易借速贷的投诉量则达到3300多条。
有多名用户指出,所谓升级仅是更换图标——借款合同里仍隐藏着担保费用,用过度催收依旧有增无减。
“这就是把刀换个刀鞘!”一位被收取3680元担保费的借款人展示还款账单时说。当用户逾期,催收机器立即启动,不少易花花用户反映逾期后遭遇暴力催收、威胁恐吓等,有用户表示,逾期之后通讯录好友等个人隐私泄露,“不还款就通知你通讯录所有人!”“通知村委会和家人。”
2
拓川担保注册资金仅2000万元
记者注意到,易花花APP的运营方为福建拓川担保有限公司。在易花花APP的《注册协议》写到:易花花平台由浙江未讯科技有限公司与福建拓川融资担保有限公司合作开发。
之所以引入福建拓川融资担保公司,很大可能在于对金融贷款类APP的监管要求。
工商信息显示,浙江未讯科技有限公司由浙江霖梓控股有限公司(简称“霖梓控股”)持股51%,股权穿透为张杰,经营范围为互联网信息服务等,没有金融贷款类业务资质。
拓川融资担保公司的注册资本仅2000万元,法定代表人为刘更顺。由福建迪赛工业设计有限公司100%控股,后者由浙江地拍信息科技有限公司持股99%,股权穿透实控人为毛爱花。
拓川融资担保法定代表人为刘更顺,曾是杭州霖梓物业管理有限公司的法定代表人,而后者唯一股东为霖梓控股。也就是说,拓川融担与浙江未讯科技存在关联关系。
拓川融资担保的经营范围为融资担保业务,没有放贷资质,涉嫌通过担保主体大规模开展互联网贷款业务。


资料显示,易花花APP官方宣称自己是正规持牌机构分期平台、现金分期贷款平台,其APP注册协议则称,平台是为金融机构网络营销为主营业务的第三方互联网平台,平台合作的出借方均为依法设立的金融机构。
也就是说,易花花一会宣称自己是贷款平台,一会又将自己定位于助贷平台。
一个担保公司如何上架金融贷款(或助贷)APP?
据行业人士介绍,我国对于金融类APP(含贷超、助贷)存在严格监管,一个重要措施是APP上架环节“证照资质”审查,即APP运营主体需要向金应用商店提供相关金融类资质、证照等,以实现APP上架或版本迭代更新。这类的资质一般为银行、消金、小贷等正规金融机构。
早年互联网金融时期,各类公司主体纷纷成立P2P、网贷机构,市场泥沙俱下,经历几年的整顿,市场出清。互联网金融进入贷超、助贷模式后,市场上不具备金融牌照类的助贷类、贷超类的从业机构为解决APP上架、更新的问题,则尝试收购小贷牌照或者和小贷牌照公司合作,即“借牌上架”。
去年6月,监管对贷款类的APP进行了一轮整治,各应用商店对对小贷产品进行全面排查,对借牌上架、无贷款资质类的APP进行下架处理。
记者注意到,按监管要求,发放互联网贷款的机构,即便是小贷也必须是省级地方金融监管局批准设立的小额贷款公司,在全国范围内发放互联网贷款,必须取得网络小额贷款业务牌照。在资本金方面,在本省范围内开展互联网贷款,实缴资本要求10亿元以上;在全国范围内发放互联网贷款,实缴资本不得低于50亿元。
今年1月,国家金融监督管理总局正式发布《小额贷款公司监督管理暂行办法》,其中明确规定,小额贷款公司不得出租、出借牌照,为无放贷业务资质的主体提供放贷“通道”。不得协助无放贷业务资质的主体申请金融属性字样网站、移动应用程序(APP)和小程序等备案。
行业人士表示,在监管收紧背景下,一些助贷机构以融资担保牌照进入市场,以地方融资担保公司作为助贷产品的主体和运营方,上线看似“持牌合法”助贷平台。这成为助贷行业监管的灰色地带。
3
易花花背后涉嫌多重套利
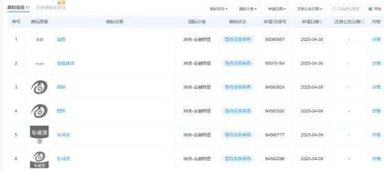
工商信息显示,今年4月,拓川融担公司密集注册了多个贷款类的商标,分别名为易借、易借速贷、图形、东成贷等,国际分类为36类-金融物管,商标状态为“等待实质审查”。而浙江未讯科技此前便申请了易借速贷等商标,注册时间为2022年9月,但至今仍处于“等待实质审查”阶段。

也就是说,浙江未讯科技的易借速贷审查三年未通过,而拓川融担公司的易借速贷审查了三个多月,亦未通过,这或是公司弃用易借速贷的原因。


至于易花花,拓川融资担保则是在2024年5月“以软件著作权”的方式申请的易花花小额贷款软件平台,其APP应用分类领域为:分期贷款。
也就是说,拓川融担通过申请软件著作权的方式,实现了“易花花”的曲线上架。
不过,即便是按照担保公司主体来运营,根据我国《融资担保公司监管条例》,融资担保公司的担保责任余额最大倍数不得超过净资产10倍。而拓川融担的注册资本2000万元,即最大担保余额2亿元。
根据霖梓控股官网披露的资料,易借速贷注册用户亦超1500万,累计放款150亿元。这还只是前几年的数据。若累计放款150亿元均由运营方福建拓川担保有限公司担保,则其杠杆倍数达到了惊人的750倍。
值得一提的是,易花花的合作机构中的个别银行,近年来因是易借平台的主要放贷平台,多次被借款人投诉并被媒体广泛报道。
按助贷新规规定,商业银行对合作机构实行“白名单”管理,并严禁与名单外机构合作。同时将增信服务费计入借款人综合融资成本,明确综合融资成本区间,且符合《最高人民法院关于进一步加强金融审判工作的若干意见》等有关规定,这意味着,助贷行业提供服务的年化利率被压降至24%以下。
从网友反馈来看,易借、易花花依然是多家银行合作的助贷机构,且担保费等隐性利率依然居高不下。这正触犯助贷新规第六条的核心违规:借担保费之名行高息之实。
易花花与银行资方的合作背后,也构成了典型监管灰色套利:一家无放贷资质的担保公司上线助贷平台,通过银行资金方“洗白”业务。
就此问题,《消费日报》记者向浙江未讯科技有限公司、福建拓川融资担保有限公司等发去采访提纲,截止发稿时,三方均未对此作出回应。
1.TMT观察网遵循行业规范,任何转载的稿件都会明确标注作者和来源;
2.TMT观察网的原创文章,请转载时务必注明文章作者和"来源:TMT观察网",不尊重原创的行为TMT观察网或将追究责任;
3.作者投稿可能会经TMT观察网编辑修改或补充。
