恒大地产等被强制执行2.3亿观点
观察君
2024-10-15 13:08
导读
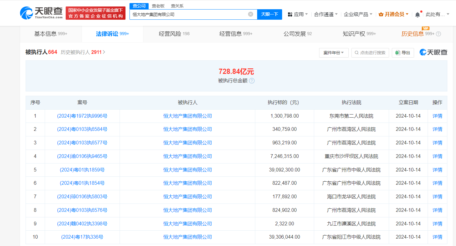
天眼风险信息显示,恒大地产集团有限公司现存660余条被执行人信息,被执行总金额超728亿元。此外,该公司还存在多条限制消费令、失信被执行人(老赖)及终本案件信息。
天眼查法律诉讼信息显示,10月14日,恒大地产集团有限公司新增13条被执行人信息,执行标的合计2.38亿余元,涉及票据追索权纠纷、金融借款合同纠纷等案件,部分案件被执行人还包括儋州恒大滨海投资有限公司、恒大地产集团兰州置业有限公司等,执行法院为甘肃省兰州市中级人民法院、广东省广州市中级人民法院等。
天眼风险信息显示,恒大地产集团有限公司现存660余条被执行人信息,被执行总金额超728亿元。此外,该公司还存在多条限制消费令、失信被执行人(老赖)及终本案件信息。


恒大地产
2.3亿
1.TMT观察网遵循行业规范,任何转载的稿件都会明确标注作者和来源;
2.TMT观察网的原创文章,请转载时务必注明文章作者和"来源:TMT观察网",不尊重原创的行为TMT观察网或将追究责任;
3.作者投稿可能会经TMT观察网编辑修改或补充。
