张若昀父亲张健累计被执行超2.8亿快讯
TechWeb.com.cn
2021-11-24 15:55
导读
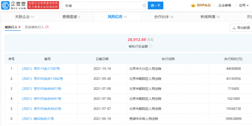
张健目前共有6条被执行信息,张若昀父亲张健新增3条限制高消费信息,被执行总金额超2.8亿元。
【TechWeb】企查查App显示,张若昀父亲张健新增3条限制高消费信息,申请人均为北京市文化科技融资担保有限公司。
此外,张健目前共有6条被执行信息,被执行总金额超2.8亿元。


张健
信息
张若昀
父亲
新增
1.TMT观察网遵循行业规范,任何转载的稿件都会明确标注作者和来源;
2.TMT观察网的原创文章,请转载时务必注明文章作者和"来源:TMT观察网",不尊重原创的行为TMT观察网或将追究责任;
3.作者投稿可能会经TMT观察网编辑修改或补充。
