恒大地产等被执行6.6亿观点
观察君
2025-03-18 15:31
导读
3月17日,恒大地产集团有限公司新增7条被执行人信息,执行标的合计6.6亿余元,涉及金融借款合同纠纷、票据纠纷等案件,部分案件被执行人还包括恒大地产集团石家庄有限公司、恒大集团有限公司等,执行法院为邯郸市丛台区人民法院、广东省揭阳市中级人民法院等。
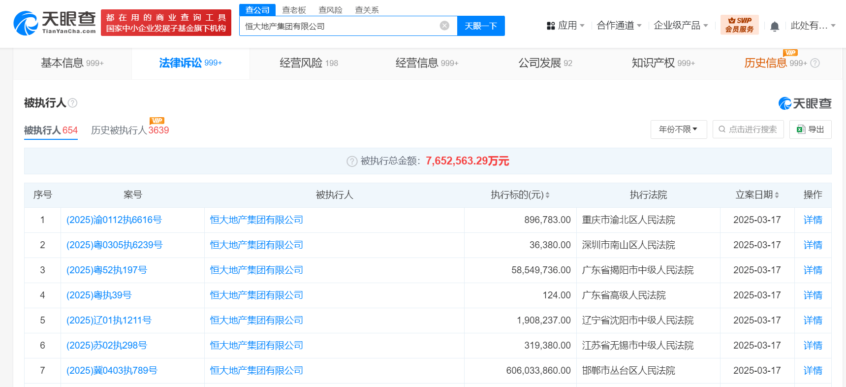
天眼查法律诉讼信息显示,3月17日,恒大地产集团有限公司新增7条被执行人信息,执行标的合计6.6亿余元,涉及金融借款合同纠纷、票据纠纷等案件,部分案件被执行人还包括恒大地产集团石家庄有限公司、恒大集团有限公司等,执行法院为邯郸市丛台区人民法院、广东省揭阳市中级人民法院等。
天眼风险信息显示,恒大地产集团有限公司现存650余条被执行人信息,被执行总金额超765亿元。此外,该公司还存在多条限制消费令、失信被执行人(老赖)及终本案件信息。


恒大地产
1.TMT观察网遵循行业规范,任何转载的稿件都会明确标注作者和来源;
2.TMT观察网的原创文章,请转载时务必注明文章作者和"来源:TMT观察网",不尊重原创的行为TMT观察网或将追究责任;
3.作者投稿可能会经TMT观察网编辑修改或补充。
