司马南商业版图盘点 司马南名下影视策划中心注册资本仅10万观点
3月21日,国家税务总局北京市税务局稽查局公布司马南偷税案件处理情况。经查,司马南在2019年至2023年期间,通过隐匿收入、虚假申报等手段,少缴个人所得税、增值税等税费共计462.43万元。此外,其实控企业北京某影视策划中心通过虚列成本费用,违规享受小微企业优惠政策等方式,少缴企业所得税75.32万元。
3月21日,国家税务总局北京市税务局稽查局公布司马南偷税案件处理情况。经查,司马南在2019年至2023年期间,通过隐匿收入、虚假申报等手段,少缴个人所得税、增值税等税费共计462.43万元。此外,其实控企业北京某影视策划中心通过虚列成本费用,违规享受小微企业优惠政策等方式,少缴企业所得税75.32万元。国家税务总局北京市税务局稽查局对司马南及其实控企业追缴税费款,加收滞纳金、罚款共计926.94万元。
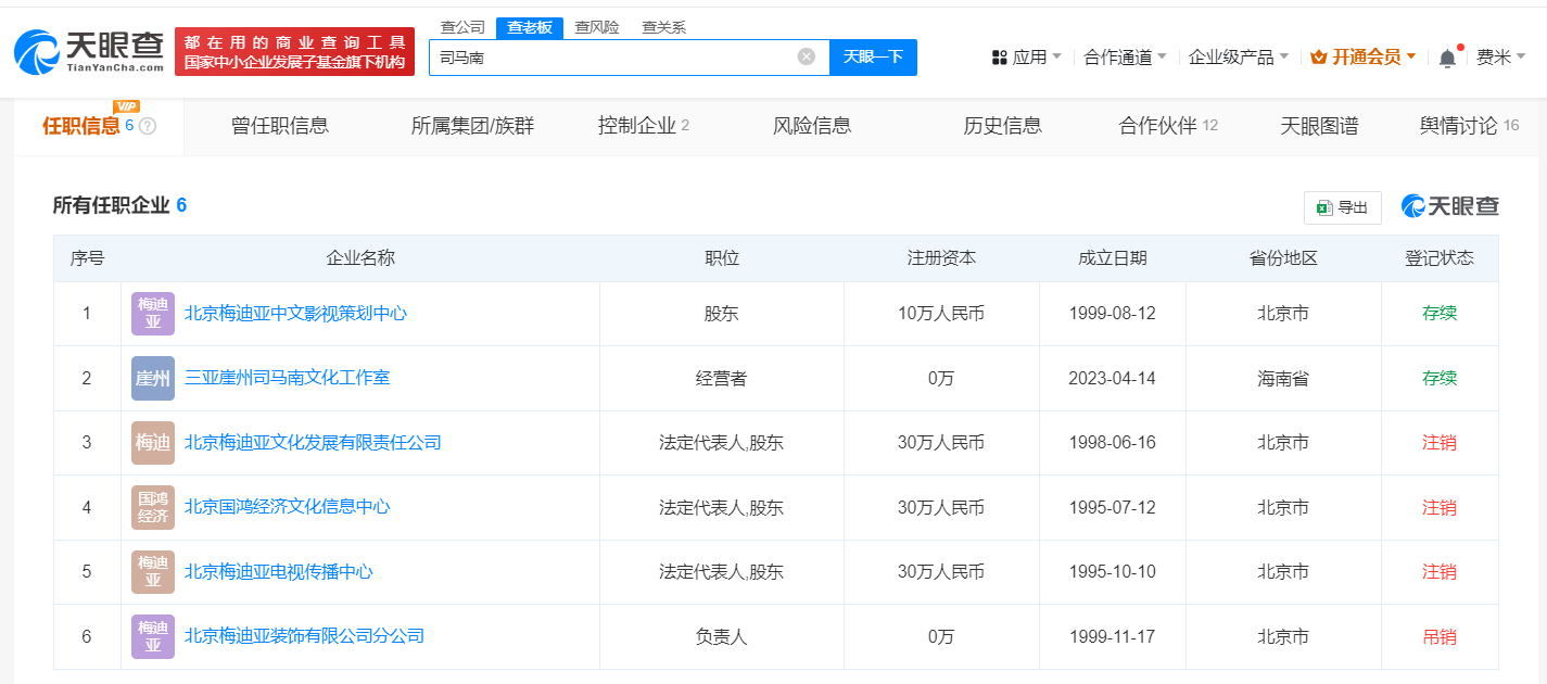
天眼查商业履历信息显示,司马南名下关联6家企业,其中3家已注销,1家被吊销,目前仅北京梅迪亚中文影视策划中心及三亚崖州司马南文化工作室处于存续状态。
北京梅迪亚中文影视策划中心成立于1999年8月,法定代表人为于宁,注册资本10万人民币,经营范围包括影视策划服务、企业形象策划服务、为承办展览展示提供服务等,由司马南、于宁、于慧共同持股,其中司马南持股比例为50%。参保人员信息显示,该公司2023年参保人数为1。
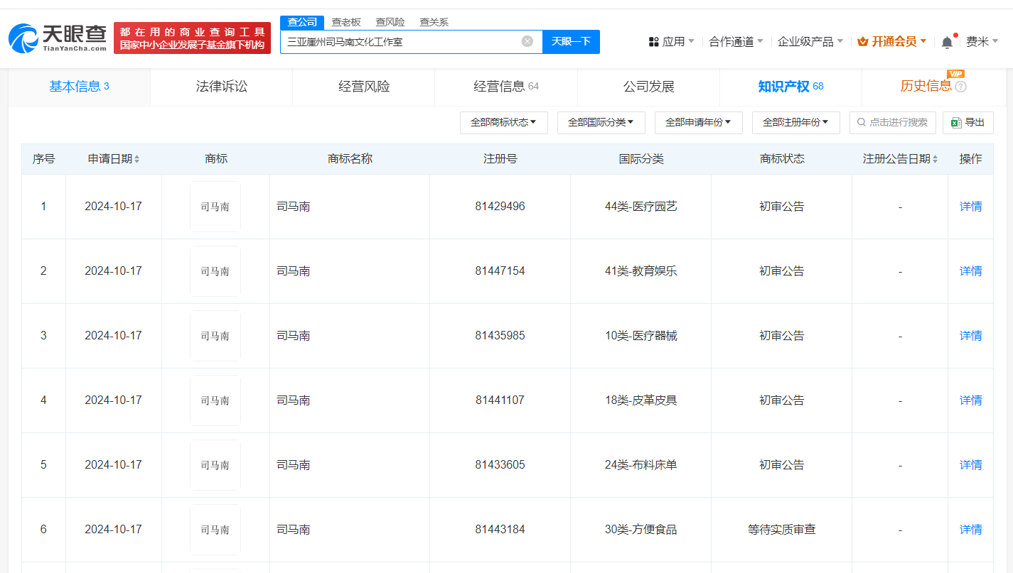
三亚崖州司马南文化工作室成立于2023年4月,经营者为司马南,企业类型为个体工商户,经营范围含演出经纪、企业形象策划、市场营销策划等。商标信息显示,该工作室目前申请多枚“司马南”商标,国际分类涉及教育娱乐、广告销售、社会服务等,部分商标状态为初审公告。





1.TMT观察网遵循行业规范,任何转载的稿件都会明确标注作者和来源;
2.TMT观察网的原创文章,请转载时务必注明文章作者和"来源:TMT观察网",不尊重原创的行为TMT观察网或将追究责任;
3.作者投稿可能会经TMT观察网编辑修改或补充。
