美团申请注册1对1急送商标观点
观察君
2026-04-30 00:38
导读
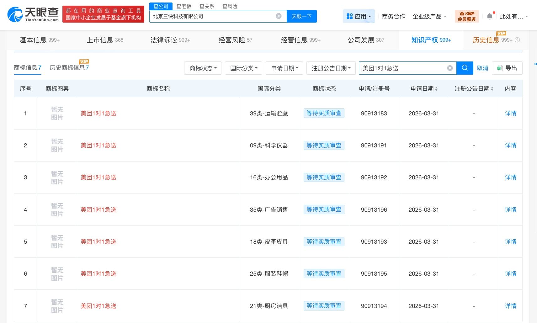
天眼查知识产权信息显示,近日,美团关联公司北京三快科技有限公司申请注册多枚“美团1对1急送”商标,国际分类涉及科学仪器、运输贮藏、广告销售等,当前商标状态均为等待实质审查。
天眼查知识产权信息显示,近日,美团关联公司北京三快科技有限公司申请注册多枚“美团1对1急送”商标,国际分类涉及科学仪器、运输贮藏、广告销售等,当前商标状态均为等待实质审查。
公开信息显示,1对1急送是美团外卖于2025年8月推出的配送服务,通过专属运力实现“一次只送一单”的配送模式。于2025年9月26日正式宣布升级并首次深度服务于餐饮外卖领域。


美团
1.TMT观察网遵循行业规范,任何转载的稿件都会明确标注作者和来源;
2.TMT观察网的原创文章,请转载时务必注明文章作者和"来源:TMT观察网",不尊重原创的行为TMT观察网或将追究责任;
3.作者投稿可能会经TMT观察网编辑修改或补充。
