2021中国民营企业500强名单发布 华为京东位列第一、二位快报
在2020年民营企业500强营业收入排名中,13家企业营业收入超3000亿元,继续位居首位。
【TechWeb】9月25日,全国工商联发布了2021中国民营企业500强调研分析报告,报告显示,民营企业500强入围门槛达235.01亿元,比上年增加32.97亿元;制造业民营企业500强入围门槛达100.51亿元,比上年增加11.33亿元;服务业民营企业100强入围门槛达322.76亿元,比上年增加33.25亿元。
13家企业营业收入超3000亿元,在2020年民营企业500强营业收入排名中,华为投资控股有限公司(8913.68亿元)、京东集团(7686.24亿元)、恒力集团有限公司(6953.36亿元)、正威国际集团有限公司(6919.37亿元)、阿里巴巴(中国)有限公司(6442.08亿元)分列前五。

在技术创新方面,民营企业500强中,有394家企业的关键技术主要来源于自主开发与研制,409家企业通过自筹资金完成科技成果转化。九成左右的民营企业500强已实施或计划实施数字化转型。民营企业500强有效专利数量较上年增长3.64%,国内有效商标注册量较上年增长36.06%。
民营企业500强中,研发人员占员工总数超过3%的企业229家,超过10%的企业120家。研发经费投入强度超过3%的企业62家,超过10%的企业7家。华为投资控股有限公司以1419.00亿元的研发投入,继续位居首位。
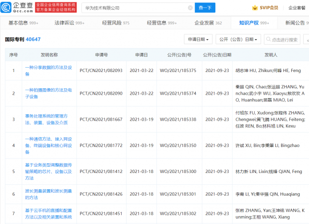
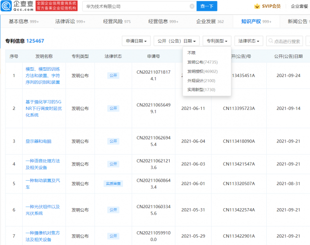
企查查APP显示,华为技术有限公司名下专利信息已超10万项,国际专利信息超4万项,专利类型以发明公布、发明授权为主。


1.TMT观察网遵循行业规范,任何转载的稿件都会明确标注作者和来源;
2.TMT观察网的原创文章,请转载时务必注明文章作者和"来源:TMT观察网",不尊重原创的行为TMT观察网或将追究责任;
3.作者投稿可能会经TMT观察网编辑修改或补充。
