为无刘海iPhone做准备:专利显示苹果手握大量屏下指纹技术快报
快科技
2020-07-03 10:04
导读
但iPhone 12s/13或者iPhone SE 3上马光学屏幕指纹还是可以小期待下,光学屏幕指纹的iPhone预计2021年与大家见面,直到今年iPhone SE 2的发布。
iPhone XS/11这两代苹果秋季新品,把Touch ID抛到了九霄云外,直到今年iPhone SE 2的发布,才再次宣告回归。
不过,外媒报道称,苹果仍在继续着屏下指纹读取技术的开发工作,可能是为未来的iPhone产品做准备。
有了屏下指纹意味着,Face ID刘海成为可有可无的东西,相信今年的疫情事件所带来的口罩解锁尴尬,是苹果推进前一项技术的新动力。

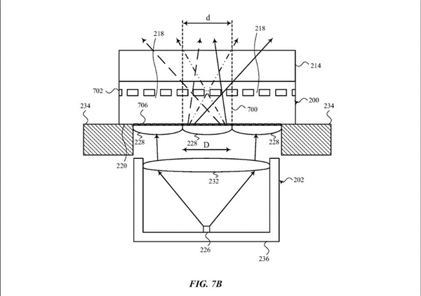
就在本周三,美国专利商标局公开了两项苹果屏下指纹新专利。第一项与捕捉2D/3D指纹图像有关,第二项则是介绍光学指纹检测系统中的温度补偿算法。
实际上,知名分析师郭明錤此前曾预判,光学屏幕指纹的iPhone预计2021年与大家见面,同时苹果也在开发超声波解决方案。
虽然iPhone 12无缘,但iPhone 12s/13或者iPhone SE 3上马光学屏幕指纹还是可以小期待下,尤其是对iPhone SE 3来说,拿掉物理Touch ID后将提高有效屏幕面积。

指纹
iPhone
ID
苹果
屏幕
1.TMT观察网遵循行业规范,任何转载的稿件都会明确标注作者和来源;
2.TMT观察网的原创文章,请转载时务必注明文章作者和"来源:TMT观察网",不尊重原创的行为TMT观察网或将追究责任;
3.作者投稿可能会经TMT观察网编辑修改或补充。
