快看漫画还在努力讲故事互联网+
被资本看好的快看漫画同样占据着移动互联网时代的发展红利,而快看漫画的大多数漫画的形式是条漫,对于长视频、漫画、网文等内容平台来说。

快看漫画,伴随着“故事”成立。
创始人陈安妮是一名漫画作者,其微博账号@伟大的安妮某天在微博上发布了一则条漫《对不起,我只过1%的生活》,宣告了快看漫画成立。用漫画宣告平台成立,可以说是属于漫画作者独有的仪式感。
近几年的年中,快看创始人陈安妮总要出来讲讲故事。
去年8月份,快看漫画举办了产品升级发布会,宣布正式升级为快看,并推出全新产品漫剧,表示接下来快看将持续深耕国漫生态,打造“超新Z世代”聚集的创作社区。
今年7月中旬,快看再次举行了国漫发布会,创始人陈安妮发表了《漫画,我们是专业的》主题演讲,分享了快看最新业务进展,还发布了共计192部IP的暑期片单。
时隔一年,快看去掉“漫画”之后成效到底如何?漫剧、社区有达到快看预想的成果吗?
资本宠儿,时代红利
快看成立于2014年,成立8年来,取得了不错的成绩。去年8月份,快看宣布已经累积了3.4亿总用户,月活跃用户接近5000万,超过行业第二名至第六名之和。
从快看这些年的发展来看,其能崛起主要有以下两方面的原因:
一是资本“宠儿”。
快看自成立以来,就颇受一级市场投资方青睐。
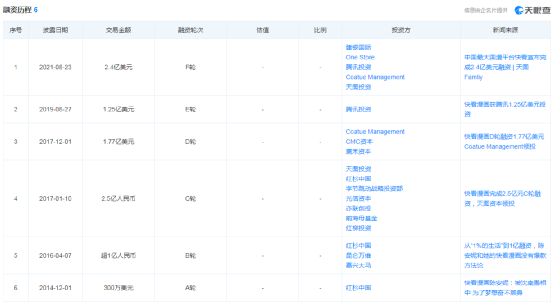
据天眼查显示,快看如今已经经历6轮融资,几乎一年一轮,其中不乏红杉中国、字节跳动、腾讯、天图投资等知名资本方。去年8月份宣布完成的2.4亿美元战略投资,是快看生涯中最大单笔融资,同时也再次刷新漫画行业融资额纪录。

二是时代红利。
时代发展对传播方式、传播媒介、阅读习惯等方面的改变,往往也间接影响着漫画平台的发展。纸媒时代的《知音漫客》,PC互联网时代的有妖气,都随着移动互联网时代的到来逐渐沉寂。
快看从成立到崛起,占据了移动互联网时代的发展红利。
一方面,移动互联网时代的去中心化让自媒体得以发展,人人都有发声的机会与平台。创始人陈安妮本身就是一名网红,其在微博发布的《对不起,我只过1%的生活》不到24小时阅读量超过了6000万,转发量超过42万,初上线的快看漫画APP获得大量引流。同时,首批入驻快看漫画的郭斯特、使徒子等作者,同样是百万级粉丝博主。
另一方面,智能手机的出现极大的改变了人们的阅读习惯。承载人们阅读的硬件从书、电脑转移到手机。而传统翻页阅读漫画的方式也转变为从上至下。创作者也根据人们的阅读习惯推出“条漫”这一漫画形式。
条漫不仅更符合移动互联网时代人们的碎片化阅读,传统页漫复杂的漫画分镜设计也成为过去式,降低了创作漫画的门槛。而快看漫画的大多数漫画的形式是条漫,符合人们阅读习惯,创作门槛的降低也提升了供给端的供给。
被资本看好的快看漫画同样占据着移动互联网时代的发展红利,成为了漫画赛道中的独角兽。
提升月活,手执“双刃剑”
根据CIC灼识咨询发布的《中国二次元内容行业白皮书》显示,2021 年快看市场占有率超过 50%,月活始终保持在漫画平台头名。不过,从历史数据来看,快看的月活并不稳定。
据数据服务商QuestMobile发布《移动互联网2017年Q2夏季报告》显示,快看漫画于2017年月活用户数就突破了3000万,在漫画行业排名第一。而据易观千帆统计,快看APP在2020年从6月至11月的半年内,月活跃人数从3991.1万人升至4591.4万人后断崖式跌至2446.3万,环比跌幅一度为35.60%。
或许快看也清楚自己的症结所在,去年快看产品升级发布会上提出的押注漫剧、打造社区,无疑都是提升月活用户数、用户粘性的手段。
一方面,漫剧是继“条漫”之后,快看又一顺应时代的做法。
据QuestMobile发布《2022中国移动互联网半年大报告》显示,短视频用户总时长占中国移动互联网用户使用总时长占比近30%,各行业应用均在加强短视频内容版块的构建。

快看的漫剧是在漫画的基础上,还原漫画分镜,辅以声音转变为视频,具有竖屏下滑的观看方式、单集3分钟等特点,是介于漫画和动画之间的一种艺术表现形式。漫剧可以视为快看构建的短视频板块之一,更符合当下人们的阅读习惯。
另一方面,打造社区也是互联网应用“自古以来”提升用户粘性的方式。
社区,注重的是人与人之间的交流。为人与人之间的连接提供平台,自然能提升人们在应用中的使用时长。工具类、电商类、资讯类等互联网应用均有转型或在应用内尝试打造社区。
快看以漫画读者为基础,形成三坑、谷圈、同人、COS等小众圈层。社区用户会为自己喜欢的IP内容创作同人图、同人文、视频等内容,也会根据相同的爱好寻找相应的圈子。在B站等小众应用努力破圈走向大众时,快看的社区也算是给了小众圈子一个聚集的场所。

不过,这两种提升月活用户的方式,带给快看的并不是只有好处。
一方面,漫剧从本质上来说其实就是动态漫画。这一形式在2015年就掀起过一股热潮,2019年迎来爆发式增长,在爱奇艺、优酷、哔哩哔哩、腾讯动漫、猫耳FM、抖音等平台均有出现。
而相较于动画来说,动态漫制作成本低,在很多人心中的固有印象是劣质的“ppt动画”,是不太追求质量的人才会去看的作品,多数动态漫画也只能宣传重点放在CV(声音演员)。同时,如今条漫改编的漫剧分镜设计原本就是从上往下,不如页漫分镜精彩,作品质量难谈上乘。
快看是用隐藏在各大平台且作品质量较低的动态漫包装成漫剧,向资本讲了一个看上去很新的故事。
另一方面,打造UGC内容社区,必定伴随着一定的内容风险。
曾经的猿辅导、作业帮、学霸君等学习类APP在打造社区时就曾传出过涉黄传闻而不得不放弃打造社区。而快看打造社区的基本盘恰好在经常与软色情沾边,且被监管部分重点监督的泛二次元领域,极其考验快看对内部社区的审查管理能力。
值得一提的是,我们可以发现,快看的会员增值服务同样是提升月活的手段。快看用签到领KK币等手段,提升用户打开快看的频率。不过,由于购买会员还要付费解锁章节,且VIP用户领取的KK币限时,导致用户体验极差,引来用户的反感。
快看想增加月活用户数,提升用户粘性,让月活用户更加稳定,但采取的措施很明显都是“双刃剑”。根据易观千帆今年2月漫画类App的月活排名,快看的月活还在3500万左右徘徊,今年年中的发布会上,快看也没有像去年一样公布自己的用户量以及月活用户数。
商业化动作频频,优质内容不见增长
快看想要通过一系列操作想要提升月活的原因,本质上还是为了提升自己的商业化能力。
在传统认知中,整个互联网行业,流量为王。流量不仅包含用户数,还包括用户时长、用户粘性、付费意愿和能力等。
用户数量、用户时长、用户粘性的提升,可以帮助快看通过广告变现。而付费意愿和能力则可以让快看通过漫画章节直接变现,这部分的盈利空间=用户数*付费率*ARPU值。
快看最开始以免费漫画为主,吸引了大量用户,但随着商业化动作的增多,弹屏广告、看广告解锁章节、付费漫画变多等动作很影响用户的使用体验。
在付费意愿和能力方面,快看将自己的用户称为“超新Z世代”,相较于Z世代更加年轻。其实就是快看的用户多是未成年。未成年人没有足够的判断力,且未成年人消费容易引发多种衍生问题。在黑猫投诉等平台可以发现,有关快看的投诉很多都是与未成年人充值退费相关。

另外,漫画这一载体本身限制了快看的发展。漫画更新时间长,用户看完一话后就会进入等待期,隔一段时间才会重新打开漫画APP,也会有一些用户会攒着更新章节一起看,快看的活跃用户自然就不稳定。所以快看在做漫画之外,才会做社区、漫剧等来留住用户,提升流量池容纳空间,继而提升自身的商业化想象空间。
在快看创始人陈安妮接受蓝鲸财经等记者的采访中,其表明漫画业务两年前已经盈利,并表示要做国漫界的奈飞。在36氪的采访中,陈安妮对出海业务的规划的回答又表述为类似于迪士尼的乐园,先聚焦做内容平台,当内容有影响力之后,再把KK World(快看的线下漫展)等这类的IP尝试搬过去。
快看需要“故事”来打动投资者,但不管是奈飞还是迪士尼,内容是最重要的。对于长视频、漫画、网文等内容平台来说,本身并不具有用户粘性,内容才是掌握流量的根本。不过,从快看近些年的表现来看,在内容方面有些差强人意。
从IP孵化角度来看,快看成立以来出圈的IP仅有一部多年前的《快把我哥带走》。
一方面,近些年快看虽然说重视作者、扶持作者,但产出的内容却越来越小众,平台内被大量耽美、玛丽苏等内容占据,快餐式的漫画充斥平台,这些内容自然做不到出圈。
另一方面,快看平台的原创IP数量开始减少。去年快看宣布的 150 部漫剧中,只有 59 部是漫画平台原创。今年年中发布会发布的暑期片单中,52部漫剧中也多是网文IP改编,快看有沦为网文改编下游趋势。同时,快看收到韩国资本投资后,平台内韩漫也多了起来。
相较于《知音漫客》的《偷星九月天》、《星海镖师》,有妖气的《十万个冷笑话》、《镇魂街》,腾讯动漫的《狐妖小红娘》、《一人之下》,快看的内容仍有很大的进步空间。
总的来说,快看漫画占据了时代红利而崛起,但如今提升月活的方式却都是“双刃剑”,且随着商业化动作的增加,用户体验也在持续下降,内容也没有足够的优势。
相较于如今繁杂的快看APP,或许老用户们,更怀念当初1%梦想的纯粹。
1.TMT观察网遵循行业规范,任何转载的稿件都会明确标注作者和来源;
2.TMT观察网的原创文章,请转载时务必注明文章作者和"来源:TMT观察网",不尊重原创的行为TMT观察网或将追究责任;
3.作者投稿可能会经TMT观察网编辑修改或补充。
