荣耀申请魔法扩图商标 荣耀申请多枚魔法大模型应用商标观点
观察君
2024-12-05 15:05
导读
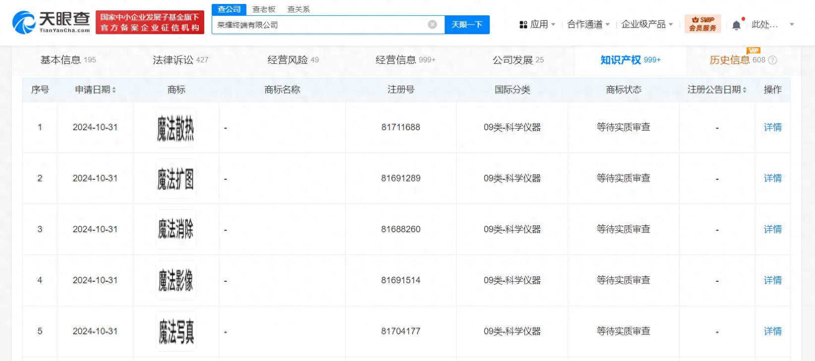
近日,荣耀终端有限公司申请注册“魔法扩图”“魔法影像”“魔法散热”“魔法写真”“魔法消除”商标,国际分类均为科学仪器,当前商标状态均为等待实质审查。
天眼查知识产权信息显示,近日,荣耀终端有限公司申请注册“魔法扩图”“魔法影像”“魔法散热”“魔法写真”“魔法消除”商标,国际分类均为科学仪器,当前商标状态均为等待实质审查。公开信息显示,魔法大模型是荣耀自研端侧平台级AI大模型,于2024年1月10日发布。


荣耀
魔法扩图
1.TMT观察网遵循行业规范,任何转载的稿件都会明确标注作者和来源;
2.TMT观察网的原创文章,请转载时务必注明文章作者和"来源:TMT观察网",不尊重原创的行为TMT观察网或将追究责任;
3.作者投稿可能会经TMT观察网编辑修改或补充。
