小米登记MiMo标识设计著作权 小米MiMo标识设计著作权获批登记观点
观察君
2026-01-15 14:07
导读
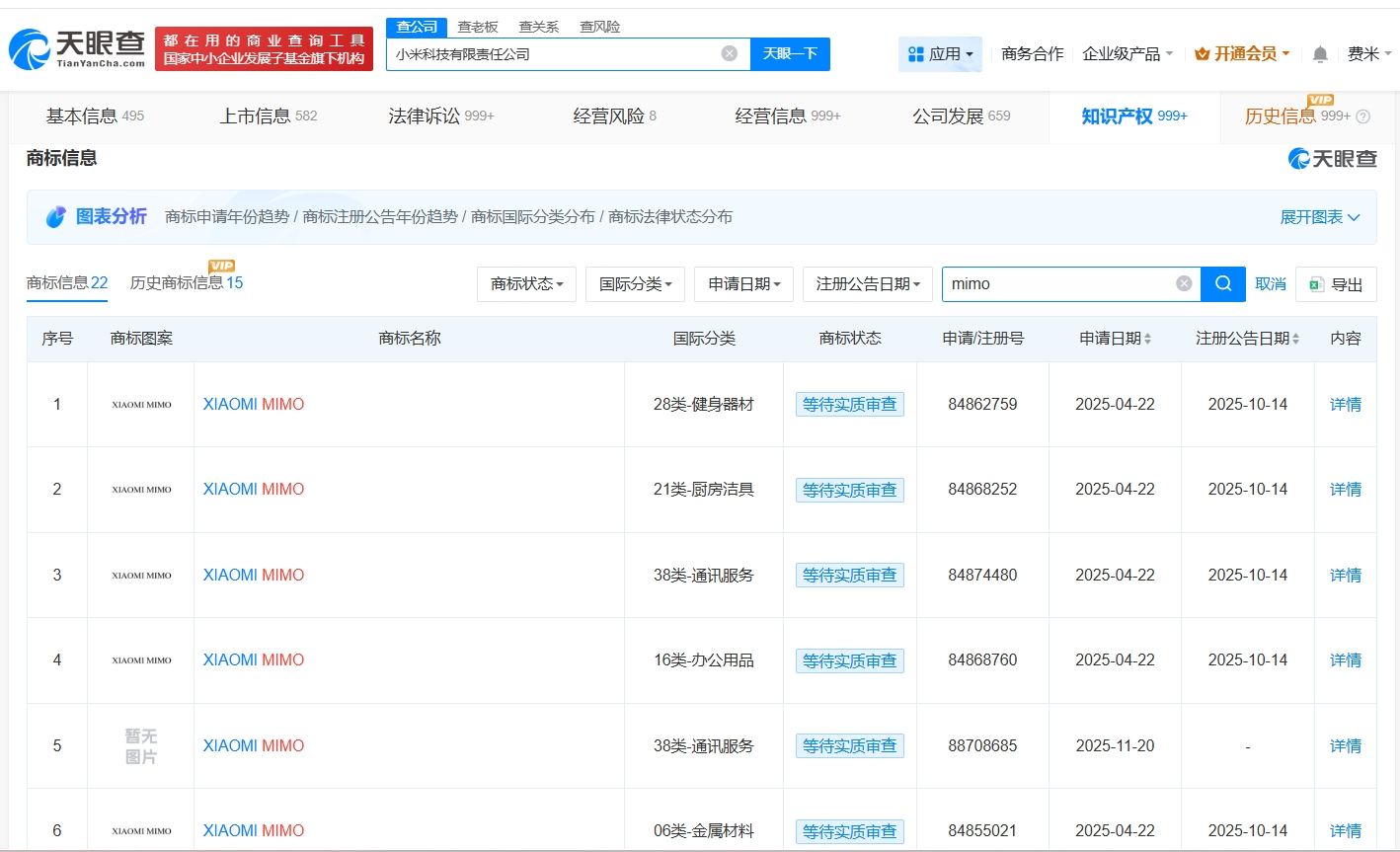
天眼查知识产权信息显示,近日,小米科技有限责任公司登记“Xiaomi MiMo标识设计”作品著作权,作品类别为美术。此前,该公司已申请注册多枚“XIAOMI MIMO”商标。
天眼查知识产权信息显示,近日,小米科技有限责任公司登记“Xiaomi MiMo标识设计”作品著作权,作品类别为美术。此前,该公司已申请注册多枚“XIAOMI MIMO”商标。
小米科技有限责任公司成立于2010年3月,法定代表人为雷军,注册资本18.5亿人民币,经营范围包括通讯设备销售、厨具卫具及日用杂品批发、厨具卫具及日用杂品零售等。股东信息显示,该公司由雷军、黎万强、洪锋、刘德共同持股。




小米
1.TMT观察网遵循行业规范,任何转载的稿件都会明确标注作者和来源;
2.TMT观察网的原创文章,请转载时务必注明文章作者和"来源:TMT观察网",不尊重原创的行为TMT观察网或将追究责任;
3.作者投稿可能会经TMT观察网编辑修改或补充。
