协鑫集团等被执行23.9亿观点
观察君
2025-05-07 15:55
导读
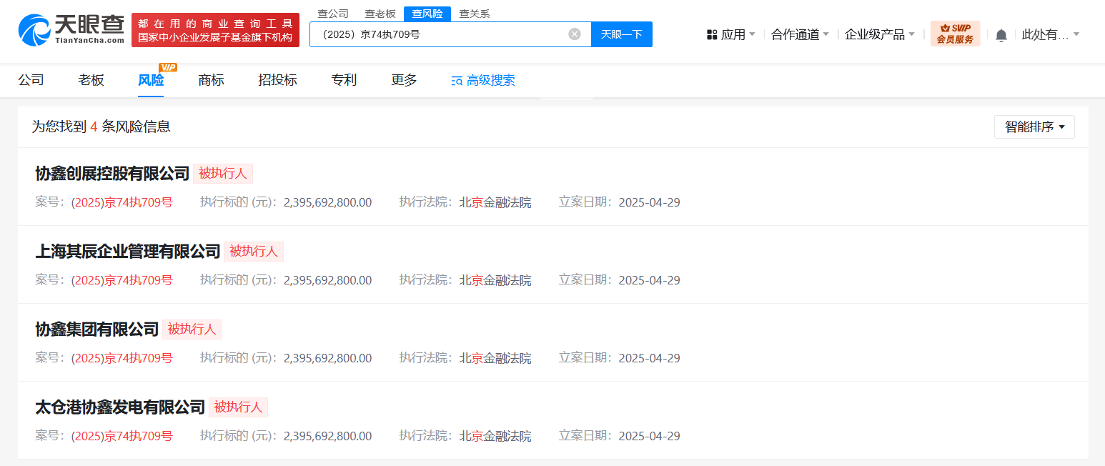
近日,协鑫集团有限公司、协鑫创展控股有限公司、上海其辰企业管理有限公司、太仓港协鑫发电有限公司新增一则被执行人信息,执行标的23.95亿余元,执行法院为北京金融法院。
天眼查天眼风险信息显示,近日,协鑫集团有限公司、协鑫创展控股有限公司、上海其辰企业管理有限公司、太仓港协鑫发电有限公司新增一则被执行人信息,执行标的23.95亿余元,执行法院为北京金融法院。
协鑫集团有限公司成立于2011年10月,法定代表人为张强,注册资本96.4亿人民币,由江苏协鑫建设管理有限公司、上海其旬投资管理有限公司、保利协鑫(太仓港)有限公司共同持股。


协鑫集团
1.TMT观察网遵循行业规范,任何转载的稿件都会明确标注作者和来源;
2.TMT观察网的原创文章,请转载时务必注明文章作者和"来源:TMT观察网",不尊重原创的行为TMT观察网或将追究责任;
3.作者投稿可能会经TMT观察网编辑修改或补充。
