合创汽车所持1亿股权被冻结观点
观察君
2024-09-06 18:10
导读
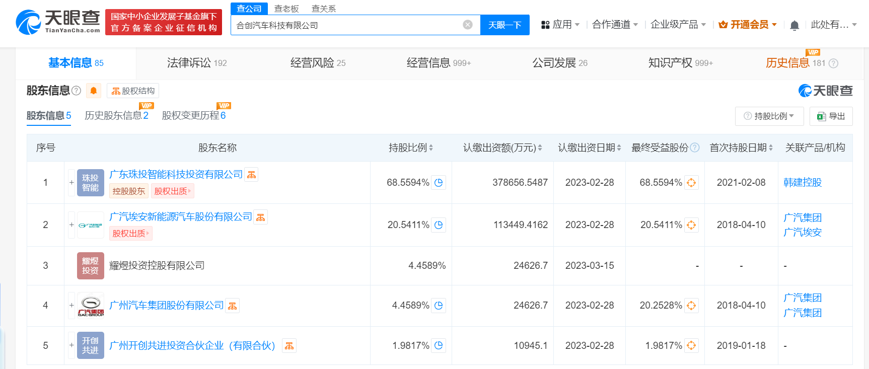
合创汽车科技有限公司成立于2018年4月,法定代表人为李志红,注册资本约55.23亿人民币,由广东珠投智能科技投资有限公司、广汽埃安新能源汽车股份有限公司、广汽集团(601238)等共同持股。
天眼查法律诉讼信息显示,近日,合创汽车科技有限公司新增3条股权冻结信息,股权被执行的企业均为广州合创汽车销售服务有限公司,冻结股权数额分别为1亿人民币、2000万人民币、500万人民币,冻结期限均为3年,执行法院为广州市南沙区人民法院。
合创汽车科技有限公司成立于2018年4月,法定代表人为李志红,注册资本约55.23亿人民币,由广东珠投智能科技投资有限公司、广汽埃安新能源汽车股份有限公司、广汽集团(601238)等共同持股。



合创汽车
1亿股权
1.TMT观察网遵循行业规范,任何转载的稿件都会明确标注作者和来源;
2.TMT观察网的原创文章,请转载时务必注明文章作者和"来源:TMT观察网",不尊重原创的行为TMT观察网或将追究责任;
3.作者投稿可能会经TMT观察网编辑修改或补充。
