哪吒汽车商业版图盘点 哪吒汽车及其创始人已被限消观点
观察君
2025-03-19 10:07
导读
据媒体报道,哪吒汽车近期开始解散研发团队。知情人士透露,研发团队将会被整体解散,本周签署离职手续的将会赔偿N+1,赔偿日期签署到5月30日。上述知情人士透露,目前哪吒汽车员工总数为1700名左右,约200名员工正在走离职流程。
据媒体报道,哪吒汽车近期开始解散研发团队。知情人士透露,研发团队将会被整体解散,本周签署离职手续的将会赔偿N+1,赔偿日期签署到5月30日。上述知情人士透露,目前哪吒汽车员工总数为1700名左右,约200名员工正在走离职流程。
天眼查App显示,哪吒汽车关联公司合众新能源汽车股份有限公司成立于2014年10月,法定代表人为方运舟,注册资本约28.4亿人民币,经营范围为新能源汽车整车及零部件的设计开发、生产、销售及相关的咨询服务,计算机软件开发,新能源汽车的工业设计,货物进出口、技术进出口。股东信息显示,该公司由南宁民生新能源产业投资合伙企业(有限合伙)、北京华鼎新动力股权投资基金(有限合伙)、宜春市金合股权投资有限公司等共同持股。
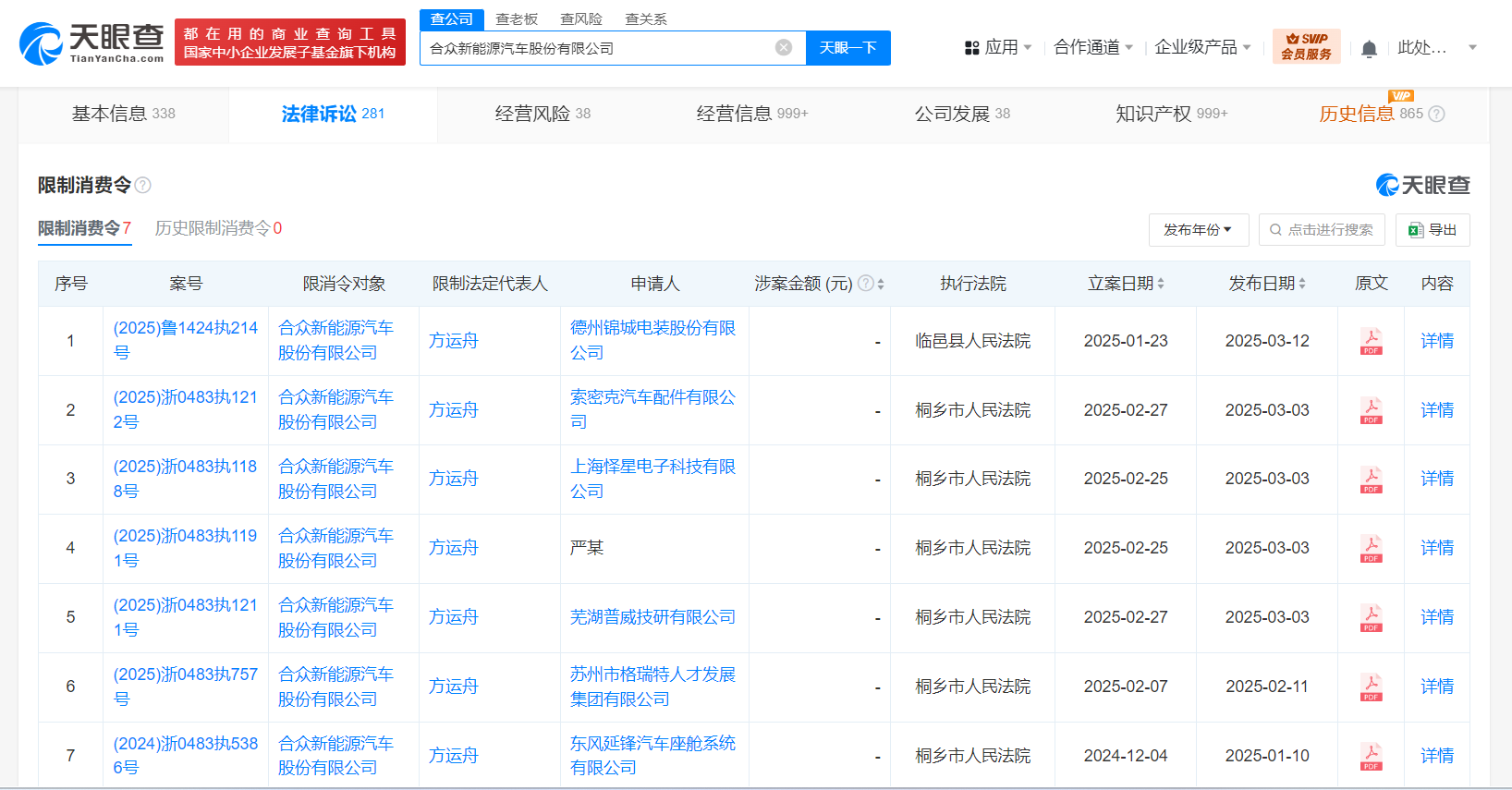
对外投资信息显示,该公司直接持股14家企业,其中13家为存续状态,包括众联天下汽车销售服务有限公司、桐乡合众汽车销售有限公司、哪吒智合新能源汽车科技(上海)有限公司、哪吒新能源汽车制造有限公司等。天眼风险信息显示,该公司现存20余条被执行人信息,被执行总金额超1.6亿元,此外,该公司还存在多条限制消费令及股权冻结信息。值得注意的是,该公司法定代表人方运舟已多次被限消。



哪吒汽车
1.TMT观察网遵循行业规范,任何转载的稿件都会明确标注作者和来源;
2.TMT观察网的原创文章,请转载时务必注明文章作者和"来源:TMT观察网",不尊重原创的行为TMT观察网或将追究责任;
3.作者投稿可能会经TMT观察网编辑修改或补充。
