快手已注册慢脚商标 快手曾涉及多起诉讼观点
观察君
2026-04-24 21:46
导读
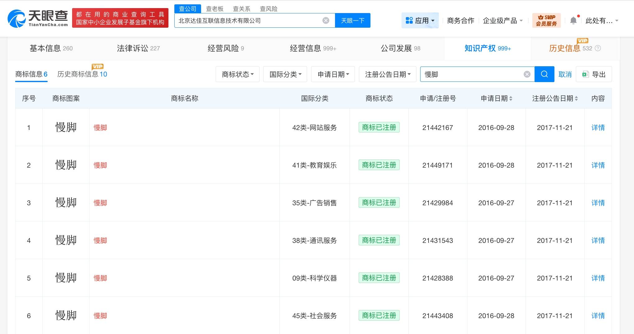
天眼查App显示,快手关联公司北京达佳互联信息技术有限公司成立于2014年7月,法定代表人为杨远熙,注册资本60亿美元,经营范围含计算机软硬件及辅助设备零售、数据处理服务、动漫游戏开发、专业设计服务、社会经济咨询服务、信息咨询服务等,由福永环球有限公司全资持股。
天眼查App显示,快手关联公司北京达佳互联信息技术有限公司成立于2014年7月,法定代表人为杨远熙,注册资本60亿美元,经营范围含计算机软硬件及辅助设备零售、数据处理服务、动漫游戏开发、专业设计服务、社会经济咨询服务、信息咨询服务等,由福永环球有限公司全资持股。值得一提的是,2016年9月,该公司申请多枚“慢脚”商标,上述商标已于2017年注册成功。风险信息显示,该公司曾涉及多起法律诉讼,案由涉及侵害作品信息网络传播权纠纷、不正当竞争纠纷等。


快手
1.TMT观察网遵循行业规范,任何转载的稿件都会明确标注作者和来源;
2.TMT观察网的原创文章,请转载时务必注明文章作者和"来源:TMT观察网",不尊重原创的行为TMT观察网或将追究责任;
3.作者投稿可能会经TMT观察网编辑修改或补充。
