胖都来公司成立不足三个月 胖都来大股东已申请注册胖都来商标观点
观察君
2025-05-07 09:00
导读
据媒体报道,近日,嘉兴的一家服装卖场开业,引起了广泛关注。被关注的原因是因为这家卖场的名字叫“胖都来”,与零售行业的知名品牌“胖东来”十分相似,所以被对方邮寄了律师函。胖东来方面称,将采取法律手段维护品牌权益。
据媒体报道,近日,嘉兴的一家服装卖场开业,引起了广泛关注。被关注的原因是因为这家卖场的名字叫“胖都来”,与零售行业的知名品牌“胖东来”十分相似,所以被对方邮寄了律师函。胖东来方面称,将采取法律手段维护品牌权益。
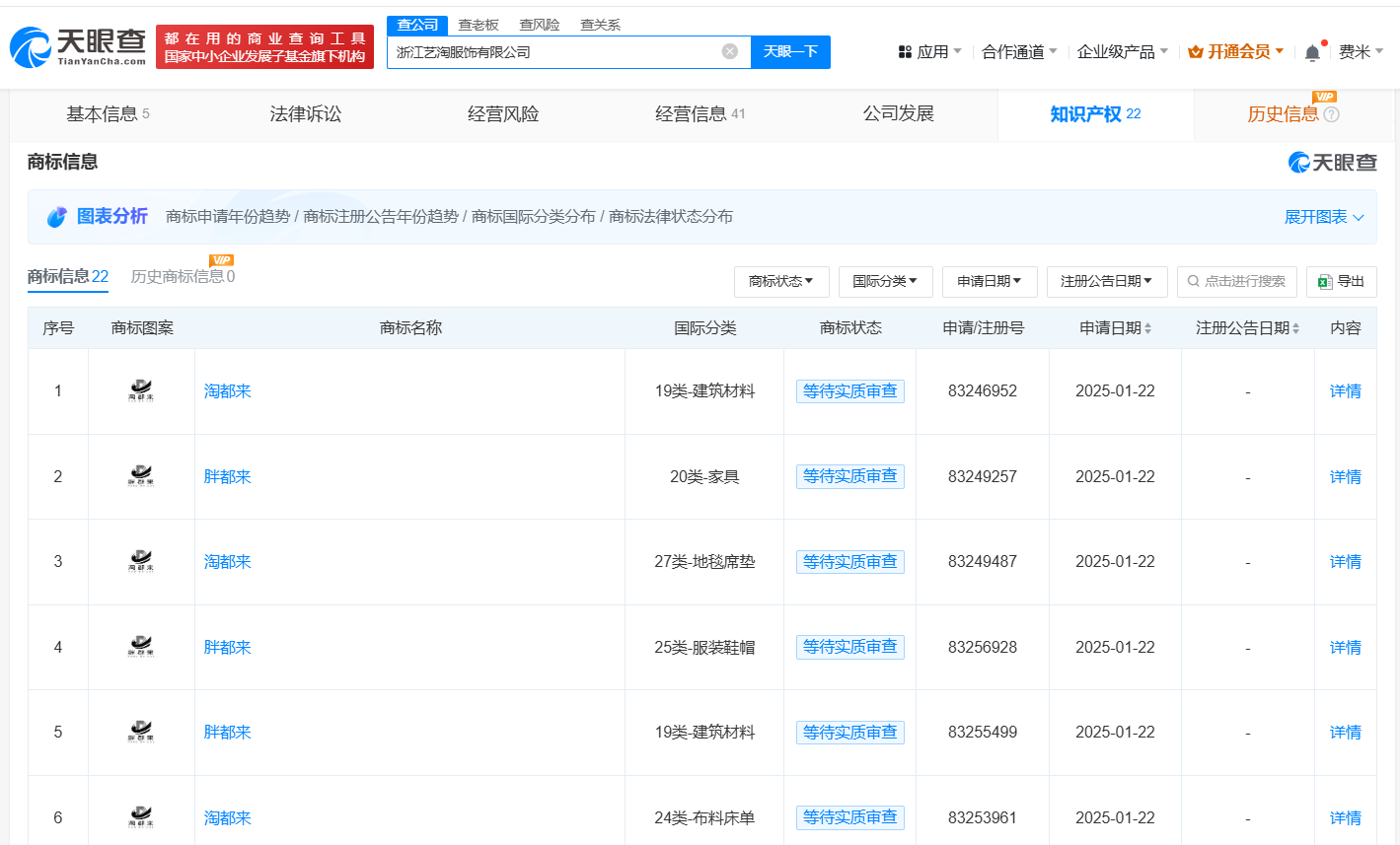
天眼查App显示,涉事公司浙江胖都来商业管理有限公司成立于2025年2月,法定代表人为都建明,注册资本1000万人民币,经营范围包括商业综合体管理服务、日用百货销售、日用品销售等,由浙江艺淘服饰有限公司、浙江盈都文化传媒有限公司分别持股80%、20%。知识产权信息显示,浙江艺淘服饰有限公司于今年1月申请注册多枚“胖都来”“淘都来”商标,国际分类包括建筑材料、家具等,当前商标状态均为等待实质审查。



胖都来
1.TMT观察网遵循行业规范,任何转载的稿件都会明确标注作者和来源;
2.TMT观察网的原创文章,请转载时务必注明文章作者和"来源:TMT观察网",不尊重原创的行为TMT观察网或将追究责任;
3.作者投稿可能会经TMT观察网编辑修改或补充。
