长安汽车申请注册多枚AI商标 长安汽车申请小蓝深蓝蓝宝AI商标观点
观察君
2025-07-17 22:42
导读
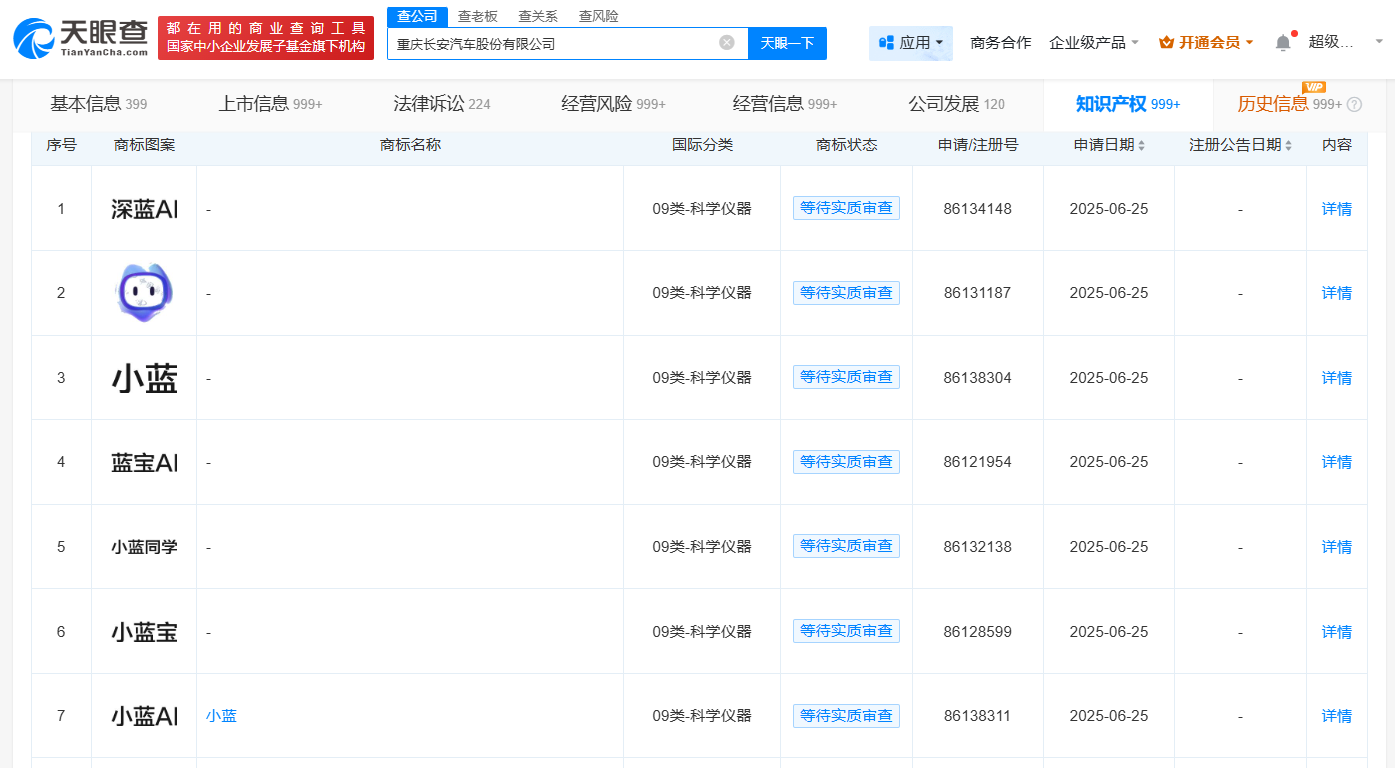
天眼查知识产权信息显示,近日,重庆长安汽车股份有限公司申请注册“小蓝AI”“深蓝AI”“蓝宝AI”等商标,国际分类为科学仪器,当前商标状态均为等待实质审查。
天眼查知识产权信息显示,近日,重庆长安汽车股份有限公司申请注册“小蓝AI”“深蓝AI”“蓝宝AI”等商标,国际分类为科学仪器,当前商标状态均为等待实质审查。
重庆长安汽车股份有限公司成立于1996年10月,法定代表人为朱华荣,注册资本约99.2亿人民币,由辰致汽车科技集团有限公司、中国兵器装备集团有限公司、南方工业资产管理有限责任公司等共同持股。



长安汽车
1.TMT观察网遵循行业规范,任何转载的稿件都会明确标注作者和来源;
2.TMT观察网的原创文章,请转载时务必注明文章作者和"来源:TMT观察网",不尊重原创的行为TMT观察网或将追究责任;
3.作者投稿可能会经TMT观察网编辑修改或补充。
