你我贷、极融均被投诉高息费,嘉银科技收取的“管理服务费”究竟是什么?观点
在黑猫投诉平台,你我贷的累计用户投诉量更是超过9万条,投诉理由多集中于信息费过高、收取太多附加服务费等。无独有偶,嘉银科技旗下另一个助贷平台——极融APP,也深陷高额息费的用户投诉与争议,被指收取天价管理服务费。

1月30日,《消费电子》杂志旗下消费投诉服务平台消费保,发布了基于2025年全年投诉数据编制的《消费保2025年年度投诉分析报告》。
报告显示,2025年,金融保险行业投诉量达390979件,仅次于电商行业。这近40万件投诉中,嘉银科技旗下核心助贷平台“你我贷”,投诉量占比达2.74%,位列行业第三。算下来,你我贷2025年在该平台的投诉量约为10713条。
在黑猫投诉平台,你我贷的累计用户投诉量更是超过9万条,投诉理由多集中于信息费过高、收取太多附加服务费等。无独有偶,嘉银科技旗下另一个助贷平台——极融APP,也深陷高额息费的用户投诉与争议,被指收取天价管理服务费。
在助贷新规明确规定增信服务费计入综合融资成本、24%利率红线成为助贷行业共识的当下,嘉银科技旗下两个平台向借款人收取的管理服务费,究竟是什么费用?
部分贷款合计息费超36%
截至2026年2月4日上午11时,黑猫投诉平台入驻商家“你我贷”累计积累了90840条用户投诉,其中,近30天用户投诉量就有2594条。除了最常见的暴力催收,用户投诉中出现最多的关键词便是“服务费”。
如1月28日,一用户投诉称自己在2025年7月通过你我贷APP借款30100元,分6期偿还,产生了3274.88元的服务费和担保费。

同一日,另一位用户投诉称,其在2024年11月向你我贷借款9000元,分12期还款。在还款过程中,第一期和第二期除了收取本金利息,还分别额外收取了1035元的服务费,两期共计收取服务费2070元。此外,前六期还款时,除了收取本金利息,每期还需额外交154.8元的担保服务费,六期共收取了928.8元的担保服务费。

又是服务费,又是担保服务费,叠加起来息费早已超过24%。
上述两名用户的经历并非个例。1月下旬,金融领域自媒体“一只互金鹅”也分享了某网友向其展示的你我贷借款申请记录。
记录显示,该名网友于2025年1月在你我贷申请了44600元的贷款,分12期偿还。除了每期偿还本息4216.93元,这笔贷款前两期还收取了5017.5元的“增值服务-债务管理服务费”。若算上债务管理服务费,贷款年化利率已接近36%。

图源:一只互金鹅
该网友的还款账单结构,与上述黑猫投诉平台第二位投诉用户的账单基本一致——本息+前两期高额服务费。但黑猫投诉平台用户的借款时间在2024年,是助贷新规落地前。该网友的借款时间是今年,助贷新规已经实施,长期游走于灰色地带的36%高息业务也已大幅收缩,嘉银科技却依然延续早期的放贷风格。
更讽刺的是,你我贷APP首页,赫然写着“年化综合融资成本(单利)7.2%~24%”,实际操作过程却与其宣传背道而驰。
除了你我贷,嘉银科技旗下另一个助贷平台——极融APP,同样饱受高额息费争议。黑猫投诉平台上,极融借款已积累了11532条用户投诉。
其中一名用户在1月26日投诉称,其于2025年11月在极融科技申请了两笔借款,一笔6500元分12期还,每期还款652.34元;一笔5500元分12期还,每期还款519.81元,两笔贷款的年化息费分别为41%、36%。此外,极融还在其不知情的情况下,每月扣取32.45元的增值服务费,直到平台工作人员主动沟通提及减免服务费,该用户才知晓此事。

嘉银科技董事长严定贵在2026年新年贺词中,表示2025年是嘉银科技以合规为基、稳健蓄力的沉淀之年。面对监管体系的日臻完善,嘉银科技秉持合规为基的发展信念,推动合规理念迭代升级。
然而,现实却是助贷新规落地后,嘉银科技旗下两大助贷平台的贷款息费定价,依然都游走在合规红线边缘。
高昂服务费疑似流向关联方
收取管理服务费后,嘉银科技又是如何将其剥离至上市公司表外,游离监管视野之外的呢?答案也可以从用户投诉中找到。
在消费保、黑猫投诉平台的用户投诉中,有不少投诉都提到一家名叫广西广木资产管理有限公司(以下简称“广木资管”)的企业。
一位消费保平台用户称,自己在2025年通过你我贷平台借款两笔,合计借款本金8300元,综合费用就有2980.5元。其中,贷后服务费1580.02元。根据银行扣款记录,所有的贷后服务费资金均流向了广木资管。另一位黑猫投诉平台用户也表示,自己通过你我贷APP借款后,广木资管向其收取了2239.44元。

广木资管成立于2019年8月,是一家资产管理公司,工商登记的经营范围包括资产管理、投资咨询、企业管理咨询服务、软件技术服务、增值电信服务、国内呼叫中心业务、受金融机构委托对信贷逾期户及信用卡透支户进行信息提醒通知服务等。
从股权结构来看,广木资管的唯一股东是广州广木信息科技有限公司(以下简称“广州广木”),二者与嘉银科技都没有股权关联关系。
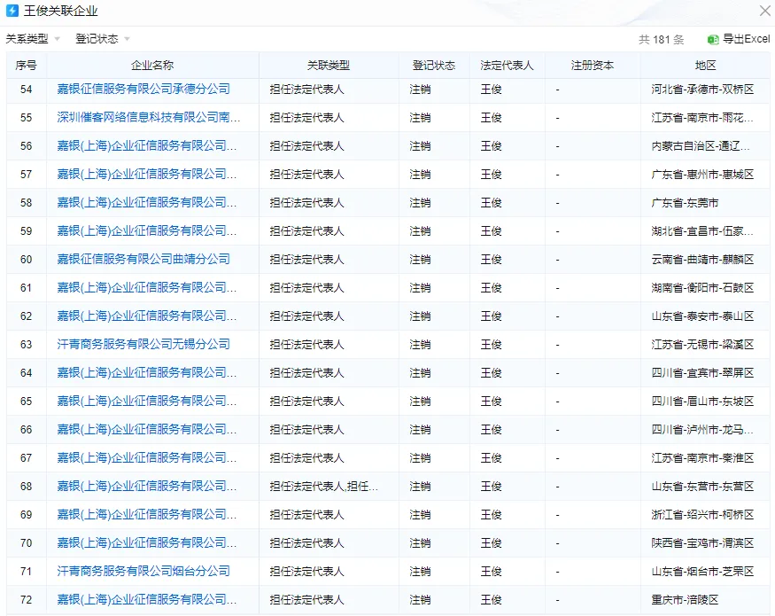
但值得注意的是,企业预警通显示,广木资管的法定代表人、执行董事、总经理王俊,曾在2016年-2018年期间,担任过全国上百家嘉银(上海)企业征信分公司的法定代表人。

嘉银企业征信和嘉银科技的实控人都是严定贵,其属于嘉银科技体系外的关联企业。嘉银企业征信主要为你我贷平台提供实地信用调查服务,2016年,嘉银科技代嘉银企业征信向借款方收取了1.95亿元的征信服务费。2023年10月,嘉银企业征信决议解散并注销。
嘉银企业征信上百家分公司的唯一法定代表人,在这些分公司陆续注销后,如今又是广木资管的法定代表人。广木资管与嘉银科技之间的关联或许比表面呈现的更深。
此外,广木资管的母公司广州广木,旗下还有深圳融信保非融资性担保有限公司(以下简称“深圳融信保”)、深圳催客网络信息科技有限公司(以下简称“深圳催客”)两家100%控股的子公司。
这两家子公司,也时常出现在你我贷、极融的用户投诉里。用户投诉基本都围绕着其在你我贷、极融的债权被转让给这两家公司,随后两家公司对其进行催收。

梳理下来,广州广木旗下三家子公司,广木资管负责向你我贷、极融两个平台的借款人收取相关服务费,深圳融信保、深圳催客便负责承接这两个平台的债务并进行清收。
这或许也是嘉银科技90天以上逾期率仅1.33%(截至2025年三季度末),资产质量在行业内处于较优水平的重要原因。只是,这样一来,相关的债务管理费、催收服务费等,都压在借款人的融资成本上,最终损害的还是借款人的利益。
1.TMT观察网遵循行业规范,任何转载的稿件都会明确标注作者和来源;
2.TMT观察网的原创文章,请转载时务必注明文章作者和"来源:TMT观察网",不尊重原创的行为TMT观察网或将追究责任;
3.作者投稿可能会经TMT观察网编辑修改或补充。
