小鹿妈妈公司年报显示仅1人参保 小鹿妈妈创始人名下多家公司0人参保观点
观察君
2025-03-26 16:30
导读
据报道,近日,关于小鹿妈妈公司存在“无固定午休时间”“禁止工位放置私人物品”“强制员工工位就餐”等严苛规定,引发公众热议。3月26日,合肥市庐阳区劳动保障监察大队称已经去过小鹿妈妈调查。
据报道,近日,关于小鹿妈妈公司存在“无固定午休时间”“禁止工位放置私人物品”“强制员工工位就餐”等严苛规定,引发公众热议。3月26日,合肥市庐阳区劳动保障监察大队称已经去过小鹿妈妈调查。
天眼查App显示,小鹿妈妈关联公司安徽鹿妈妈生物科技有限公司成立于2016年5月,法定代表人为岳梦影,注册资本500万人民币,经营范围包括生物科技产品的研发、生产、销售等,由夏泉、芦士琴分别持股90%、10%。2023年年报信息显示,该公司参保人数为1人。
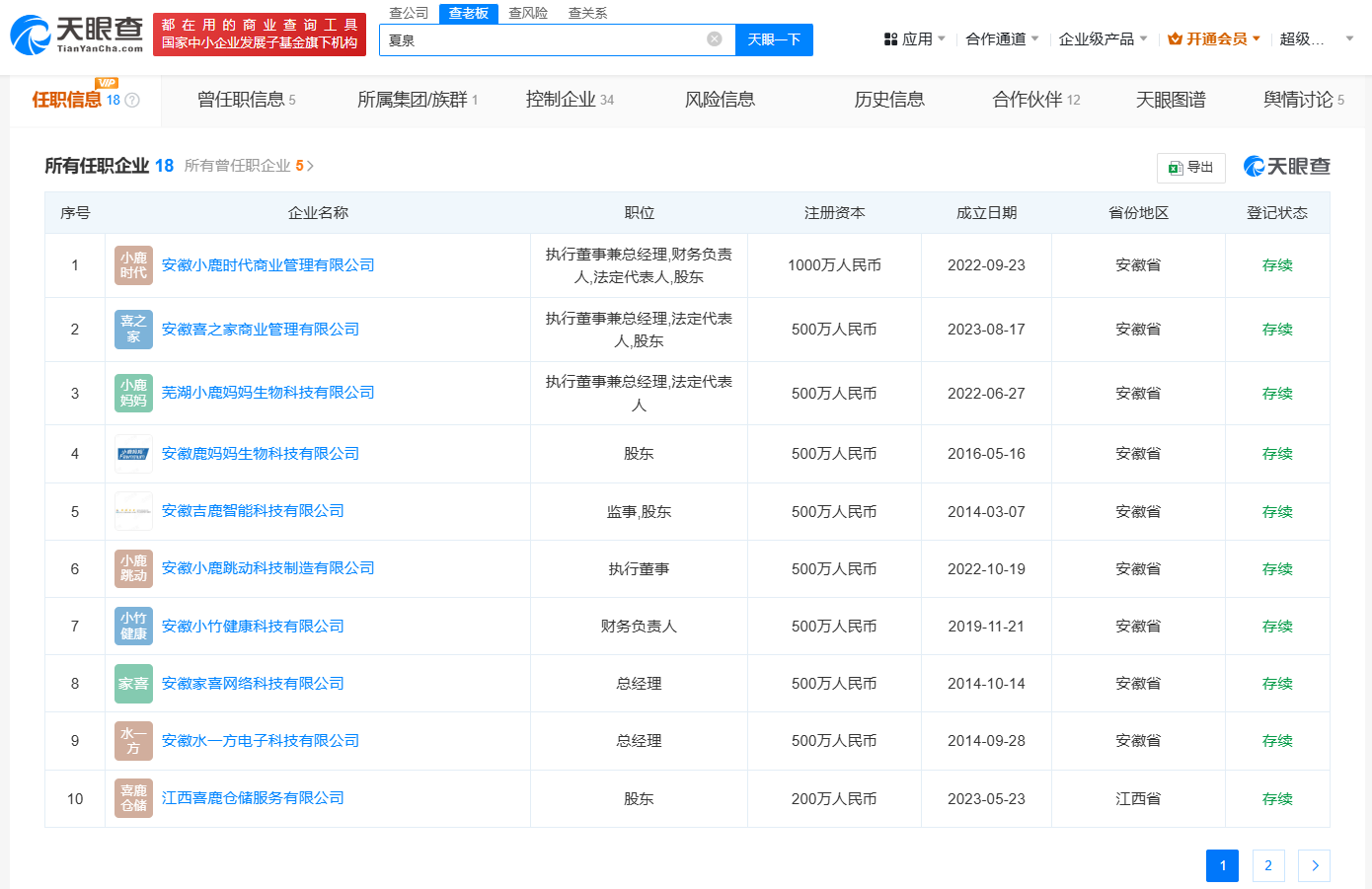
商业履历信息显示,小鹿妈妈创始人夏泉名下关联18家企业,其中14家为存续状态,包括安徽小鹿时代商业管理有限公司、安徽喜之家商业管理有限公司、芜湖小鹿妈妈生物科技有限公司等。夏泉在上述企业担任股东及法定代表人、执行董事、总经理等职务。值得注意的是,其名下的安徽小鹿时代商业管理有限公司、安徽吉鹿智能科技有限公司、芜湖市鹿龙生物科技有限公司等多家公司2023年年报显示参保人数均为0人。





小鹿妈妈
1.TMT观察网遵循行业规范,任何转载的稿件都会明确标注作者和来源;
2.TMT观察网的原创文章,请转载时务必注明文章作者和"来源:TMT观察网",不尊重原创的行为TMT观察网或将追究责任;
3.作者投稿可能会经TMT观察网编辑修改或补充。
