灵犀互娱申请如鸢商标 游戏出品方申请如鸢商标观点
观察君
2024-08-15 17:13
导读
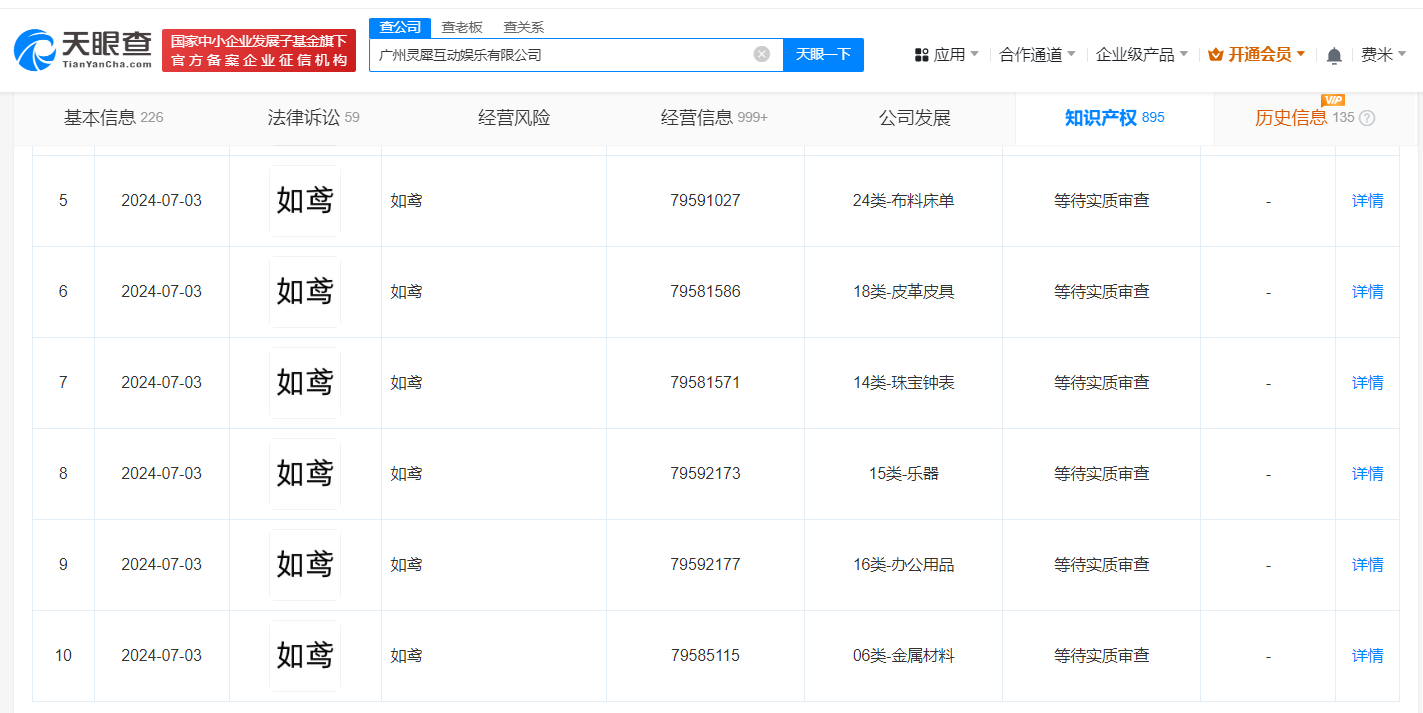
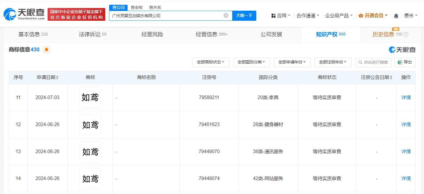
近日,广州灵犀互动娱乐有限公司申请多枚“如鸢”商标,国际分类包括厨房洁具、饲料种籽、服装鞋帽等,当前商标状态均为等待实质审查。
天眼查知识产权信息显示,近日,广州灵犀互动娱乐有限公司申请多枚“如鸢”商标,国际分类包括厨房洁具、饲料种籽、服装鞋帽等,当前商标状态均为等待实质审查。
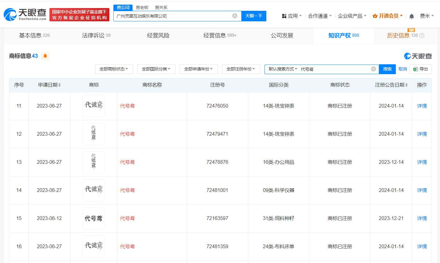
据媒体报道,近日,沉浸式剧情卡牌手游《如鸢》官宣开放预约。开启预约仅8小时,预约人数就突破了340万。据悉,该游戏在国外名为《代号鸢》,在国内过审后改名《如鸢》。天眼查显示,广州灵犀互动娱乐有限公司已于去年成功注册多枚“代号鸢”商标。




灵犀互娱
如鸢商标
1.TMT观察网遵循行业规范,任何转载的稿件都会明确标注作者和来源;
2.TMT观察网的原创文章,请转载时务必注明文章作者和"来源:TMT观察网",不尊重原创的行为TMT观察网或将追究责任;
3.作者投稿可能会经TMT观察网编辑修改或补充。
