黄子韬卫生巾公司在金华成立新公司 黄子韬卫生巾公司今年成立5家新公司观点
观察君
2025-08-20 15:58
导读
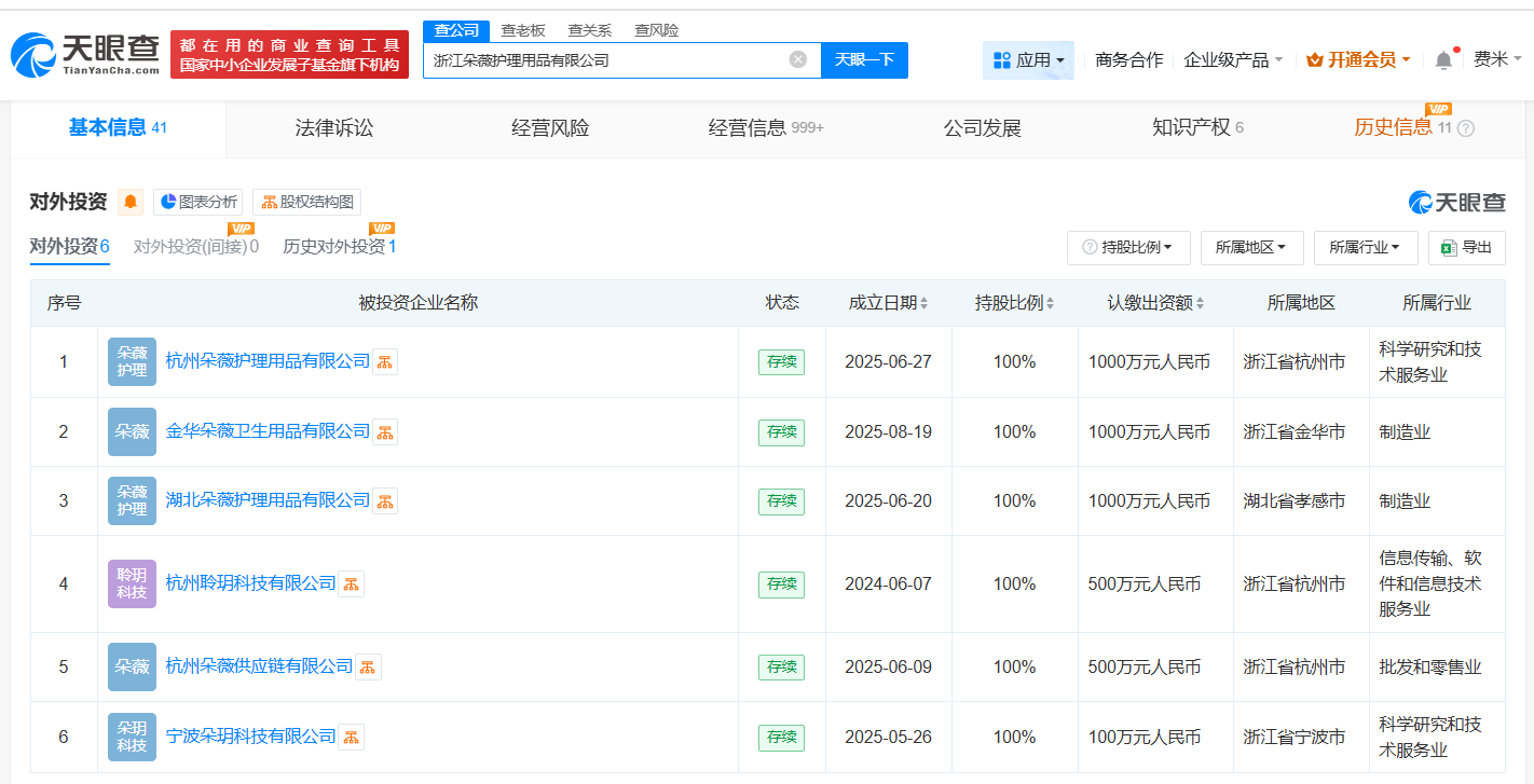
天眼查工商信息显示,近日,金华朵薇卫生用品有限公司成立,法定代表人为徐嘉斌,注册资本1000万人民币,经营范围包括卫生用品和一次性使用医疗用品生产、卫生用品和一次性使用医疗用品销售、个人卫生用品销售等。股东信息显示,该公司由浙江朵薇护理用品有限公司全资持股,后者由杭州衡研科技有限公司、杭州昕燕文化创意有限公司、杭州龙则灵网络科技有限公司、黄子韬共同持股。
天眼查工商信息显示,近日,金华朵薇卫生用品有限公司成立,法定代表人为徐嘉斌,注册资本1000万人民币,经营范围包括卫生用品和一次性使用医疗用品生产、卫生用品和一次性使用医疗用品销售、个人卫生用品销售等。股东信息显示,该公司由浙江朵薇护理用品有限公司全资持股,后者由杭州衡研科技有限公司、杭州昕燕文化创意有限公司、杭州龙则灵网络科技有限公司、黄子韬共同持股。值得一提的是,今年以来,浙江朵薇护理用品有限公司已在杭州、宁波、孝感成立了4家公司。



黄子韬
卫生巾
1.TMT观察网遵循行业规范,任何转载的稿件都会明确标注作者和来源;
2.TMT观察网的原创文章,请转载时务必注明文章作者和"来源:TMT观察网",不尊重原创的行为TMT观察网或将追究责任;
3.作者投稿可能会经TMT观察网编辑修改或补充。
