华为申请多枚鸿蒙系列商标 包括鸿蒙严选鸿蒙优选鸿蒙甄选快讯
TechWeb.com.cn
2024-09-25 14:02
导读
华为也宣布了原生鸿蒙操作系统HarmonyOS NEXT,华为技术有限公司已申请多枚鸿蒙系列的商标,华为新申请的鸿蒙商标包括鸿蒙智选、鸿蒙优选、鸿蒙精品、鸿蒙甄选、鸿蒙臻享、鸿蒙严选。
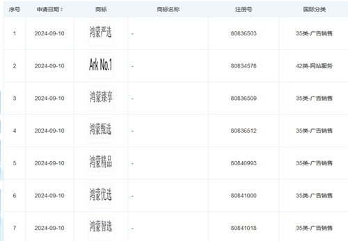
【TechWeb】9月25日消息,天眼查的信息显示,华为技术有限公司已申请多枚鸿蒙系列的商标,国际分类为广告销售,目前的状态是在等待实质审查。
从天眼查显示的信息来看,华为新申请的鸿蒙商标包括鸿蒙智选、鸿蒙优选、鸿蒙精品、鸿蒙甄选、鸿蒙臻享、鸿蒙严选,均是在9月10日提出申请。
除了申请多枚鸿蒙系列的商标,华为在9月10日申请的商标还有“Ark No.1”,国际分类是第42类-网站服务,目前的状态也是等待实质审查。
随着华为鸿蒙操作系统用户群体的增多,华为鸿蒙系列的商标也在增加。
对于鸿蒙系统,华为在6月24日的开发者大会上曾提到,鸿蒙生态设备数量已超过9亿,已有254万HarmonyOS开发者投入到鸿蒙世界的开发中来。
在6月份的开发者大会上,华为也宣布了原生鸿蒙操作系统HarmonyOS NEXT,这是基于OpenHarmony打造的全场景智能操作系统,预计在2024年第四季度正式商用。
而在昨日下午两点半开始的华为秋季全场景新品发布会上,余承东宣布HarmonyOS NEXT,也就是原生鸿蒙,也叫纯血鸿蒙,将在10月8日开始公测,支持的机型有Mate 60系列、Mate X5,还有一款旗舰平板,更多机型后面还会陆续支持。(海蓝)
鸿蒙
华为
商标
HarmonyOS
操作系统
1.TMT观察网遵循行业规范,任何转载的稿件都会明确标注作者和来源;
2.TMT观察网的原创文章,请转载时务必注明文章作者和"来源:TMT观察网",不尊重原创的行为TMT观察网或将追究责任;
3.作者投稿可能会经TMT观察网编辑修改或补充。
