月之暗面被传IPO互联网+
后续融资会面临估值打折的风险,Kimi K2.5上线以来,存在潜在估值倒挂风险。

不差钱的月之暗面,被传要上市了,正处于赴港上市的早期考量阶段。
就在几个月前,创始人杨植麟还表示:公司现金流良好,短期不急于上市。态度突然转变,背后到底是什么原因?
2026年,月之暗面迎来了商业化上的爆发,Kimi K2.5上线以来,20天内收入就有2.4亿美元,已超过2025年全年的总和。这背后的推手,是一只名叫OpenClaw的龙虾。
但这种增长高度依赖外部生态,一旦OpenClaw热度下降,或者Claude这波开源导致默认模型被替代下去,Kimi的调用量可能快速回落。
月之暗面的C端业务主要依赖Kimi智能助手的打赏、订阅收费。
QuestMobile数据显示,2025年末,Kimi月活从2165.3万腰斩至902万。与此同时,豆包、千问、元宝、DeepSeek等大厂砸钱换流量,月活纷纷破亿。揭示了大模型行业残酷的“二八定律”:80%的流量集中在20%的头部应用中。
就连Kimi曾经引以为傲的长文本优势,也已被字节、阿里迅速追平,技术护城河收窄。B端业务相比大厂更是乏力。
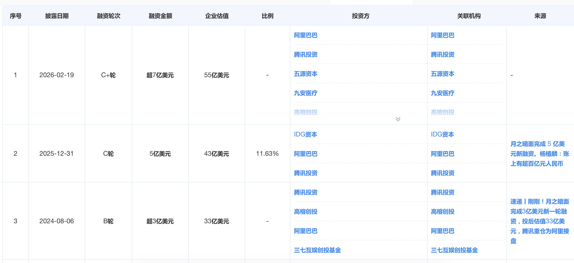
Kimi曾是“AI六小龙”中最耀眼的存在,如今智谱和MiniMax已经上岸,估值双双升至约400亿美元,留在一级市场的月之暗面,只有180亿的一级估值,存在潜在估值倒挂风险。如果不上市,后续融资会面临估值打折的风险,上市反而可以给投资人提供关键的退出通道。
大模型行业烧钱无底洞,本原财经查阅天眼查资料,月之暗面2025年12月完成5亿美元C轮融资、2026年2月再获超7亿美元C+轮融资,但按年均约20亿元研发投入测算,百亿现金仅可支撑约5年,压力犹在。

不过上市也不完全是好事,上市意味着透明化,失去技术神秘感和想象空间。
当招股书披露用户流失率,财报显示C端付费增长停滞,二级市场还是会用脚投票。即使是上市了的智谱、MiniMax,仍面临巨额亏损。每一季度的财报压力,还可能迫使管理层从“长期主义”转向“短期变现”,偏离大模型公司的初衷。
但没办法,融资受限、盈利无期、竞争加剧,唯有资本市场的输血,才能续命。从技术神话到商业现实,这场没有硝烟的存量绞杀战,才刚刚打响。
1.TMT观察网遵循行业规范,任何转载的稿件都会明确标注作者和来源;
2.TMT观察网的原创文章,请转载时务必注明文章作者和"来源:TMT观察网",不尊重原创的行为TMT观察网或将追究责任;
3.作者投稿可能会经TMT观察网编辑修改或补充。
