沈阳航空产业集团增资至7.76亿 增幅约33%观点
观察君
2025-12-11 16:33
导读
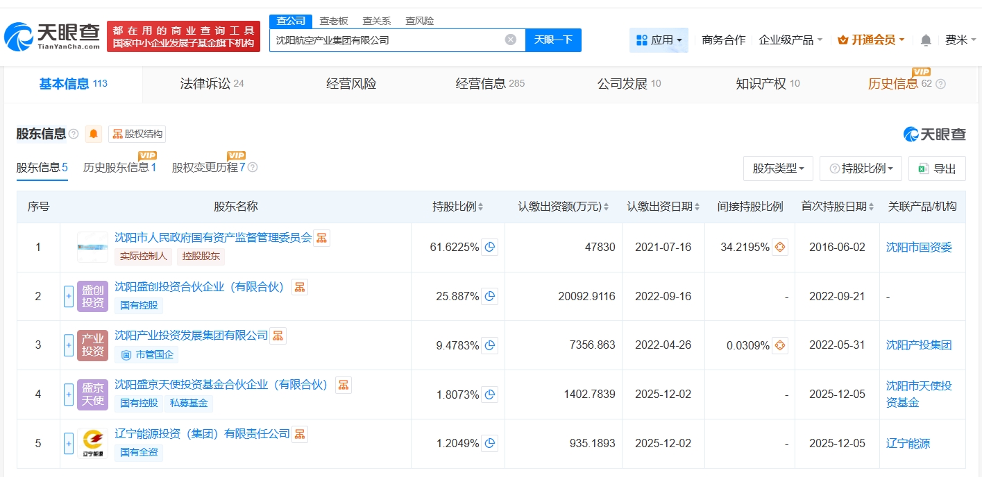
近日,沈阳航空产业集团有限公司发生工商变更,新增辽宁能源投资(集团)有限责任公司、沈阳盛京天使投资基金合伙企业(有限合伙)为股东,注册资本由约5.84亿增至约7.76亿,增幅约33%,同时,多位高管发生变更。
天眼查App显示,近日,沈阳航空产业集团有限公司发生工商变更,新增辽宁能源投资(集团)有限责任公司、沈阳盛京天使投资基金合伙企业(有限合伙)为股东,注册资本由约5.84亿增至约7.76亿,增幅约33%,同时,多位高管发生变更。
该公司成立于2016年6月,法定代表人为王宇,经营范围包括民用航空器零部件制造、以自有资金从事投资活动、航空运输设备销售、物业管理等,现由沈阳市人民政府国有资产监督管理委员会、沈阳盛创投资合伙企业(有限合伙)、沈阳产业投资发展集团有限公司及上述新增股东共同持股。



沈阳航空产业集团
1.TMT观察网遵循行业规范,任何转载的稿件都会明确标注作者和来源;
2.TMT观察网的原创文章,请转载时务必注明文章作者和"来源:TMT观察网",不尊重原创的行为TMT观察网或将追究责任;
3.作者投稿可能会经TMT观察网编辑修改或补充。
