观致汽车大股东被冻结20.3亿股权 杭州诚茂所持观致汽车20.3亿股权被冻结观点
观察君
2024-12-25 11:20
导读
近日,观致汽车有限公司新增一条股权冻结信息,被执行人为杭州诚茂投资有限公司,冻结股权数额约20.3亿人民币,冻结期限自2024年12月23日至2027年12月22日,执行法院为北京金融法院。
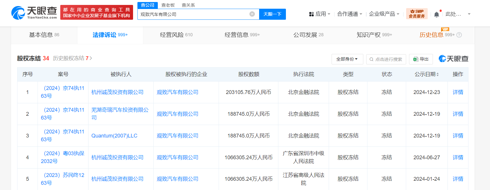
天眼查App显示,近日,观致汽车有限公司新增一条股权冻结信息,被执行人为杭州诚茂投资有限公司,冻结股权数额约20.3亿人民币,冻结期限自2024年12月23日至2027年12月22日,执行法院为北京金融法院。
观致汽车有限公司成立于2007年12月,法定代表人为何华,注册资本约169.25亿人民币,由杭州诚茂投资有限公司、芜湖奇瑞汽车投资有限公司、QUANTUM(2007)LLC分别持股63%、25%、12%。天眼风险信息显示,近日,芜湖奇瑞汽车投资有限公司、QUANTUM(2007)LLC持有的该公司18.8亿人民币股权已分别被冻结。


观致汽车
1.TMT观察网遵循行业规范,任何转载的稿件都会明确标注作者和来源;
2.TMT观察网的原创文章,请转载时务必注明文章作者和"来源:TMT观察网",不尊重原创的行为TMT观察网或将追究责任;
3.作者投稿可能会经TMT观察网编辑修改或补充。
