揭秘听泉赏宝合伙人 听泉赏宝合伙人公司已注册听泉商标观点
观察君
2024-10-29 17:54
导读
此前,有网友发现“听泉鉴宝”APP已上线一段时间,商城板块售卖商品包括项链、手串等。10月29日,再次查看发现此前售卖的商品多已下架,仅存在毛绒钱币抱枕及听泉猫摇头摆件。
此前,有网友发现“听泉鉴宝”APP已上线一段时间,商城板块售卖商品包括项链、手串等。10月29日,再次查看发现此前售卖的商品多已下架,仅存在毛绒钱币抱枕及听泉猫摇头摆件。
天眼查App显示,“听泉鉴宝”软件开发公司为杭州良匠传媒有限公司,该公司成立于今年3月,法定代表人为鲁海涛,注册资本100万人民币,由鲁海涛和丁祥栩分别持股51%、49%。知识产权信息显示,该公司已登记了“听泉鉴宝”和“听泉寻宝”软件著作权。
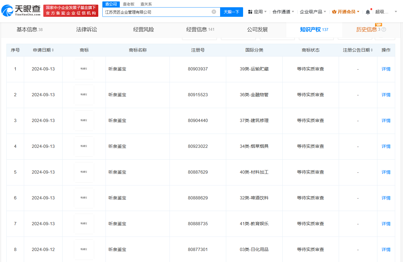
据悉,鲁大魔曾说良匠文化为自己与“听泉赏宝”共同创立。也有良匠文化mcn认证的账号在视频中评论到,良匠股东鲁海涛是魔总的堂弟。天眼查显示,鲁岳(鲁大魔)名下共关联6家企业,其中5家为存续状态,包括江苏灵匠企业管理有限公司、江苏叁点壹肆信息科技有限公司、徐州巨灵网络科技有限公司等。值得一提的是,近期,由鲁岳全资持股的江苏灵匠企业管理有限公司申请注册了多枚“听泉鉴宝”“听泉寻宝”文字及图形商标,国际分类涉及教育娱乐、珠宝钟表等,当前商标状态均为等待实质审查。此前,该公司已成功注册多枚“听泉”商标。





听泉赏宝
听泉商标
1.TMT观察网遵循行业规范,任何转载的稿件都会明确标注作者和来源;
2.TMT观察网的原创文章,请转载时务必注明文章作者和"来源:TMT观察网",不尊重原创的行为TMT观察网或将追究责任;
3.作者投稿可能会经TMT观察网编辑修改或补充。
