张德勇卸任长安马自达公司董事长 倪尔科任长安马自达公司董事长观点
观察君
2026-04-03 20:40
导读
天眼查App显示,近日,长安马自达汽车有限公司发生工商变更,张德勇卸任法定代表人、董事长、董事,由倪尔科接任。
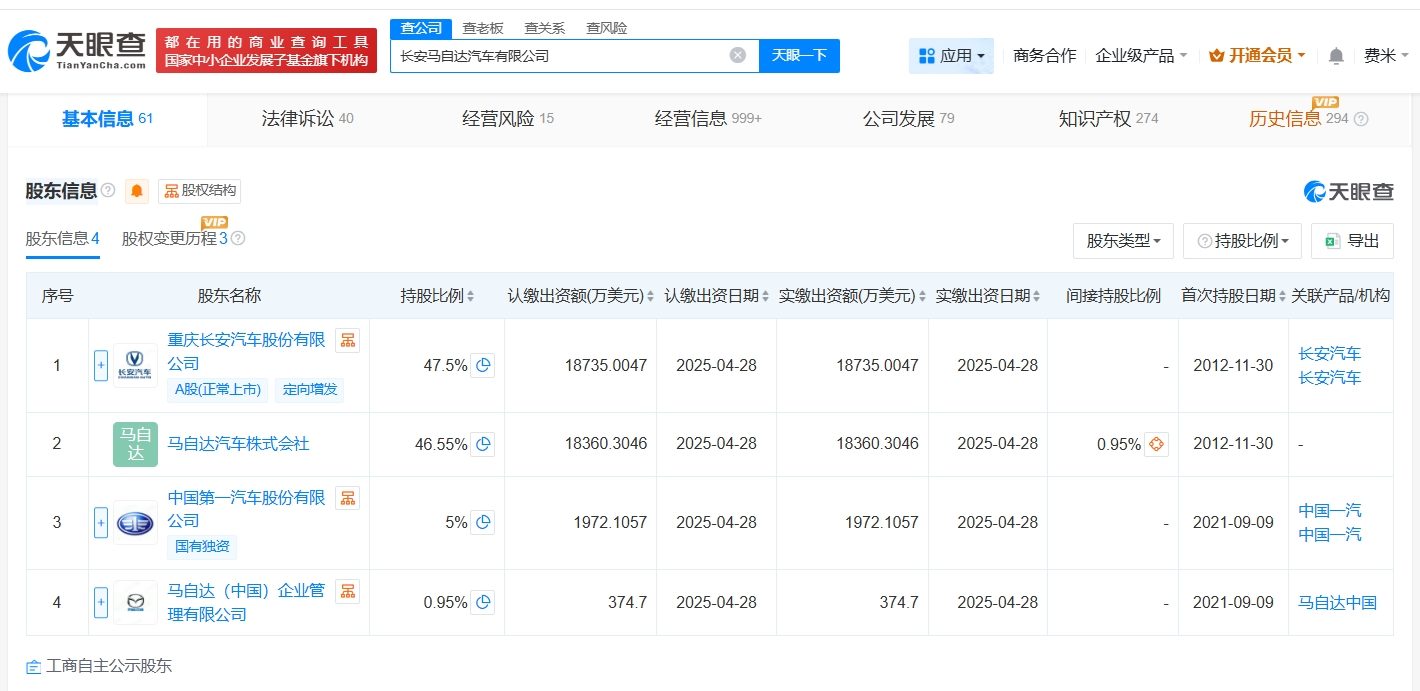
天眼查App显示,近日,长安马自达汽车有限公司发生工商变更,张德勇卸任法定代表人、董事长、董事,由倪尔科接任。
该公司成立于2012年11月,注册资本约3.94亿美元,经营范围含道路机动车辆生产、汽车销售、新能源汽车整车销售等,由长安汽车(000625)、马自达汽车株式会社、中国第一汽车股份有限公司、马自达(中国)企业管理有限公司共同持股。



倪尔科
长安马自达
1.TMT观察网遵循行业规范,任何转载的稿件都会明确标注作者和来源;
2.TMT观察网的原创文章,请转载时务必注明文章作者和"来源:TMT观察网",不尊重原创的行为TMT观察网或将追究责任;
3.作者投稿可能会经TMT观察网编辑修改或补充。
