斗鱼一季度净亏损7960万元!业绩不振仍大手笔分红,旗下公司多起诉讼缠身观点
5月20日,斗鱼(纳斯达克股票代码:DOUYU)发布2025年一季报。数据显示,该公司报告期内总净收入为9.47亿元,同比减少约8.94%;净亏损为7960万元,同比减亏约840万元。
5月20日,斗鱼(纳斯达克股票代码:DOUYU)发布2025年一季报。数据显示,该公司报告期内总净收入为9.47亿元,同比减少约8.94%;净亏损为7960万元,同比减亏约840万元。

资料显示,斗鱼国际控股有限公司总部位于武汉,是以游戏为中心的直播平台,为用户提供沉浸式和交互式游戏和娱乐直播、各种视频和图形内容。2019年,斗鱼登陆纳斯达克,发行价格为11.5美元。
分业务来看,一季度,斗鱼直播收入约为5.65亿元,同比下滑29.5%。公司称收入下降主要是由于本季度总付费用户数和每付费用户平均收入下降所致。斗鱼表示,付费用户数下降主要源于公司运营策略的调整、平台低投资回报率运营活动的缩减以及消费者支出疲软等因素。
与此同时,斗鱼一季度创新业务、广告和其他收入同比增长60.2%至3.83亿元。公司称这一增长主要是由基于语音的社交网络服务和游戏会员服务带来的收入增加所致。
截至一季度末,斗鱼拥有现金及现金等价物、限制性现金、其他非流动资产限制性现金以及短期和长期银行存款23.088亿元,而上年同期为44.678亿元。斗鱼解释称,这一减少主要是由于2025年2月派发了3亿美元的特别现金股息。
值得注意的是,2024年7月,斗鱼宣布公司董事会批准并宣布派发特别现金股息,每股普通股9.76美元,支付的现金股息总额约为3亿美元。
这也就意味着,斗鱼半年内分红总额高达6亿美元(约合人民币43.32亿元)。据媒体报道,因涉嫌开设赌场罪被逮捕的斗鱼创始人陈少杰获得过亿美元的派息。
大手笔分红的同时,斗鱼正面临业绩下滑困境。财报显示,2024年,斗鱼营收同比下滑22.78%至42.71亿元;经调整净亏损为2.4亿元,2023年同期为盈利1.54亿元。上市至今,斗鱼赚少亏多,多次出现年度亏损。
另据天眼查网站,4月28日,武汉斗鱼网络科技有限公司新增一则被执行人信息,执行标的350.62万元,执行法院为南昌市东湖区人民法院。
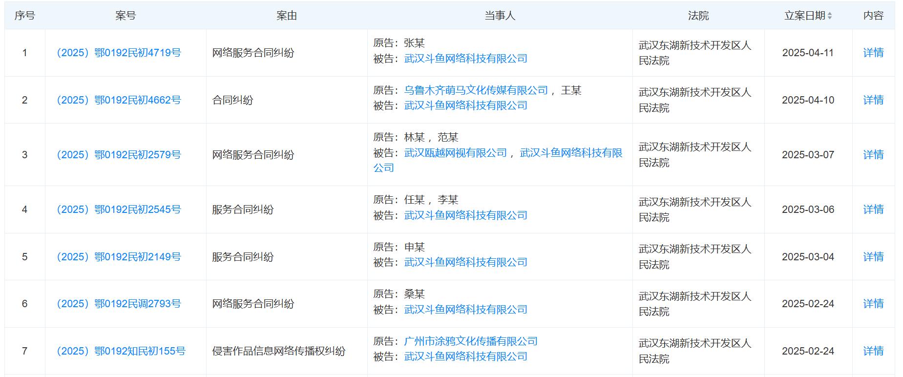
此外,武汉斗鱼网络科技有限公司作为被告近期还面临着多起未完结诉讼,涉及网络服务合同纠纷、合同纠纷、侵害作品信息网络传播权纠纷、劳动合同纠纷等。

二级市场上,斗鱼目前处于破发状态,截至发稿涨1.56%,报7.048美元/股,总市值2.13亿美元。
来源:读创财经
1.TMT观察网遵循行业规范,任何转载的稿件都会明确标注作者和来源;
2.TMT观察网的原创文章,请转载时务必注明文章作者和"来源:TMT观察网",不尊重原创的行为TMT观察网或将追究责任;
3.作者投稿可能会经TMT观察网编辑修改或补充。
